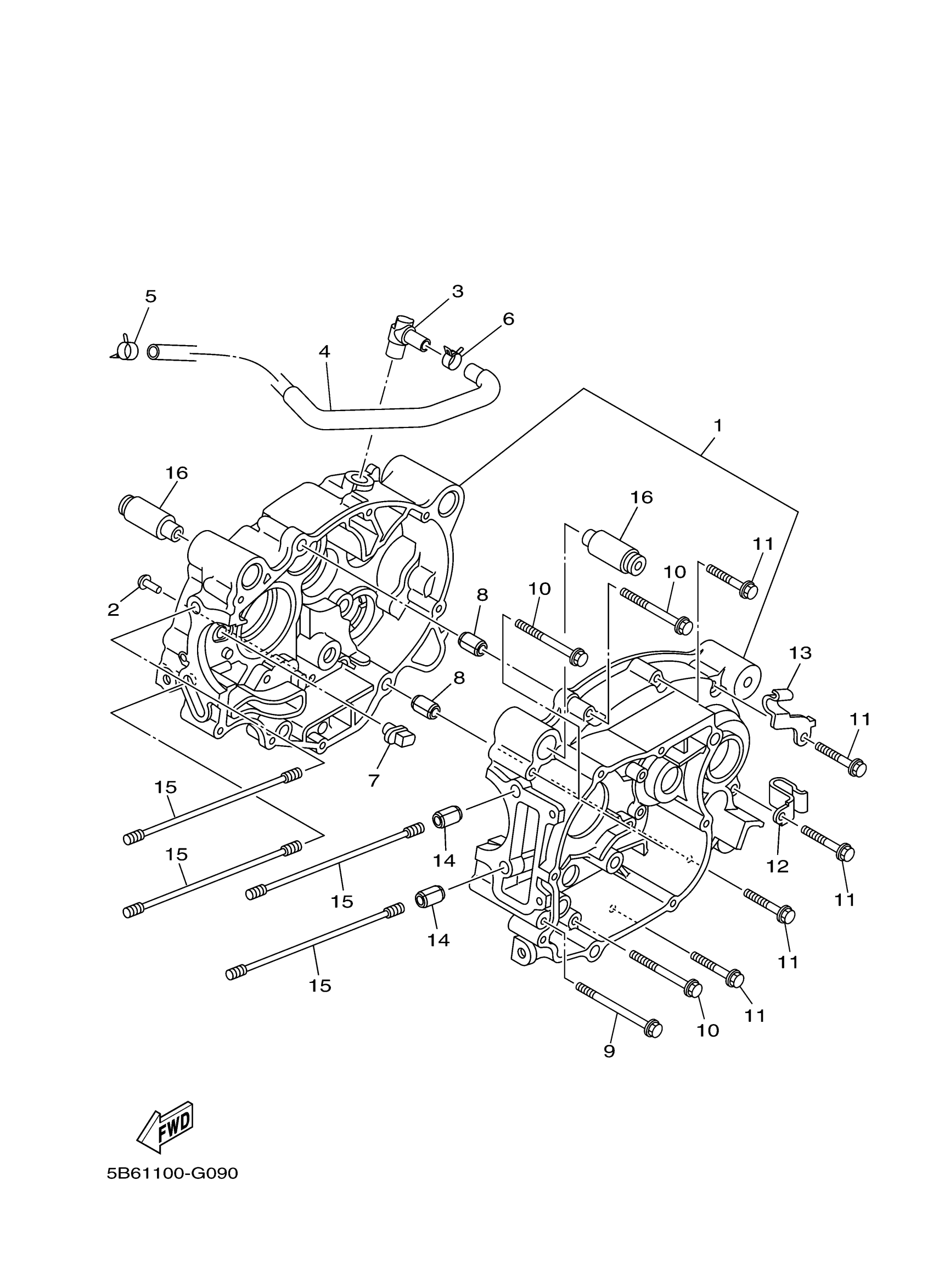
Yamaha TTR110ETC (TTR110E) BMAU 2026 CRANKCASE Diagram
#
Description
Price
7
NOZZLE 3
5TP-E5155-00-00
Unavailable
12
CLAMP
90465-10833-00
Unavailable
13
CLAMP
90462-10801-00
Unavailable
16
DAMPER
5VT-E5316-10-00
Unavailable
