- Partiron
- OEM Parts
- Yamaha
- motorcycle
- 2025
- TTR110ESC (TTR110E CA) BMAM 2025
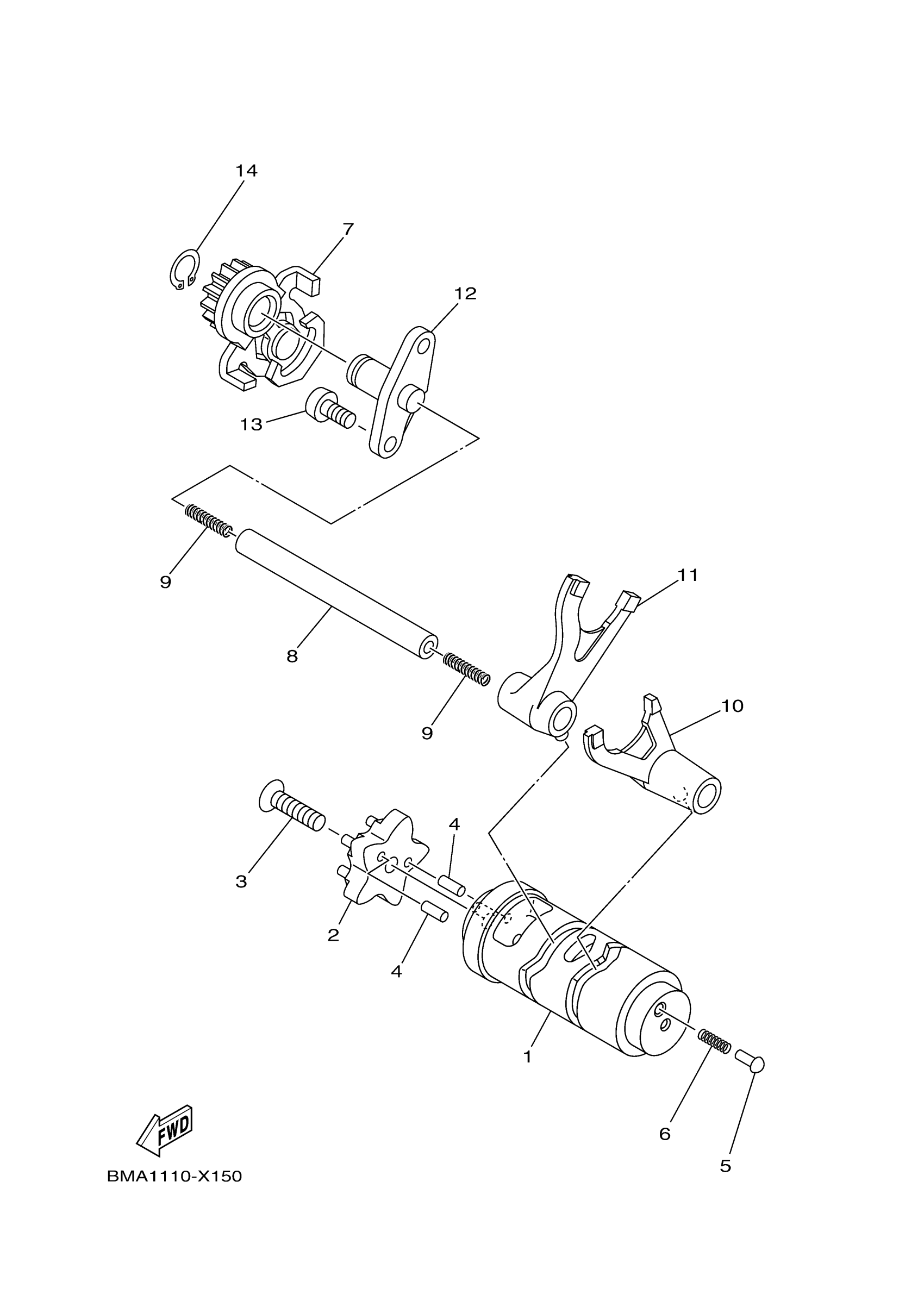
SHIFT CAM & FORK
Yamaha TTR110ESC (TTR110E CA) BMAM 2025 SHIFT CAM & FORK Diagram
#
Description
Price
2
SEGMENT
5C6-E8185-00-00
Unavailable
8
BAR, SHIFT FORK GUIDE 1
5TP-E8531-00-00
Unavailable
11
FORK, SHIFT 2
5LM-E8512-00-00
Unavailable
12
BOSS
5TP-E818A-00-00
Unavailable
