Yamaha TTR110EL (TTR110E) B51M 2020 CRANKCASE Diagram
#
Description
Price
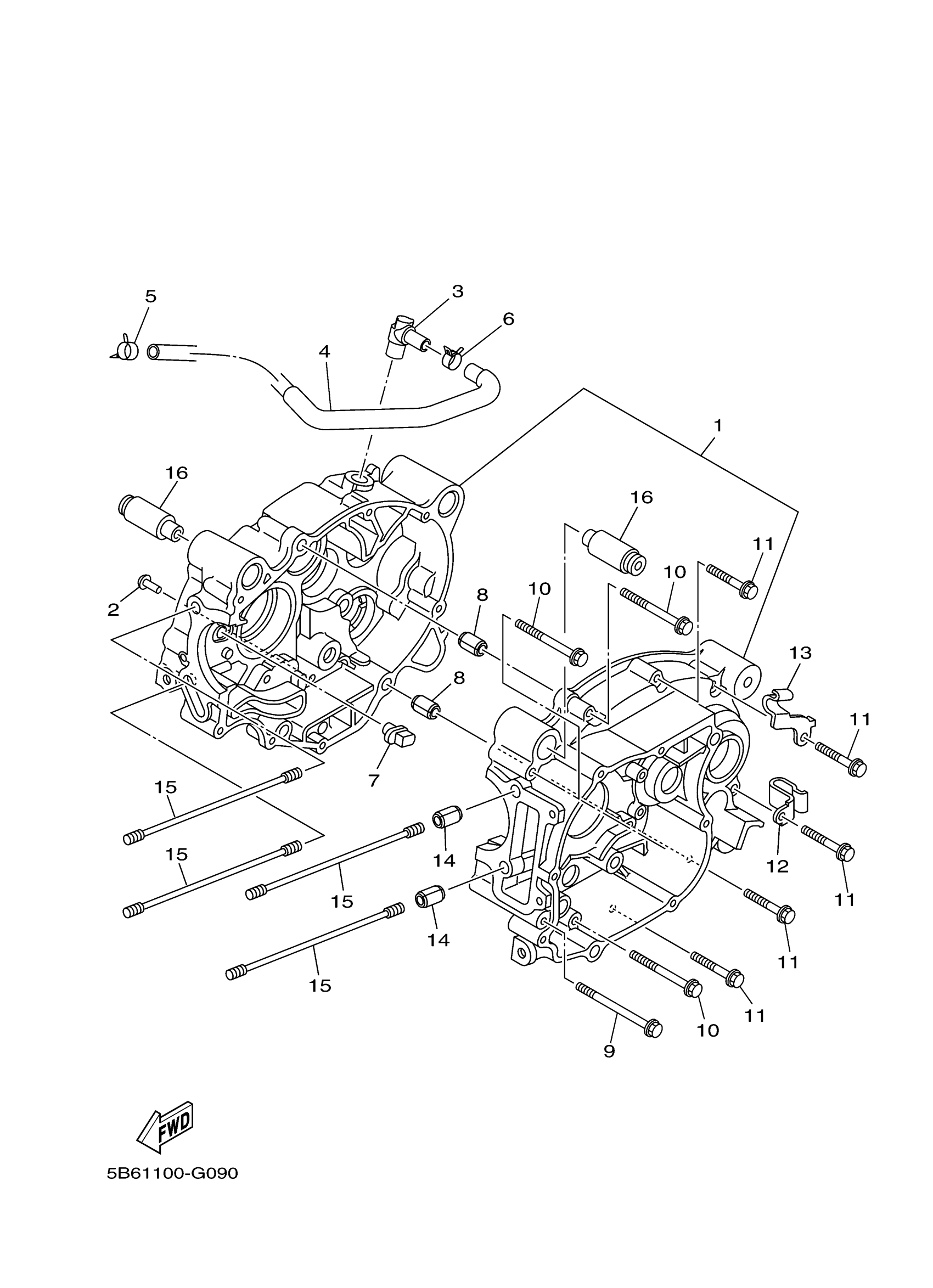
2
HOOK, SPRING
5HV-E6346-00-00
Unavailable
7
NOZZLE 3
5TP-E5155-00-00
Unavailable
12
CLAMP
90465-10833-00
Unavailable
13
CLAMP
90462-10801-00
Unavailable
16
DAMPER
5VT-E5316-10-00
Unavailable
