Yamaha TTR110EF (TTR110E) B511 2015 STARTER Diagram
#
Description
Price
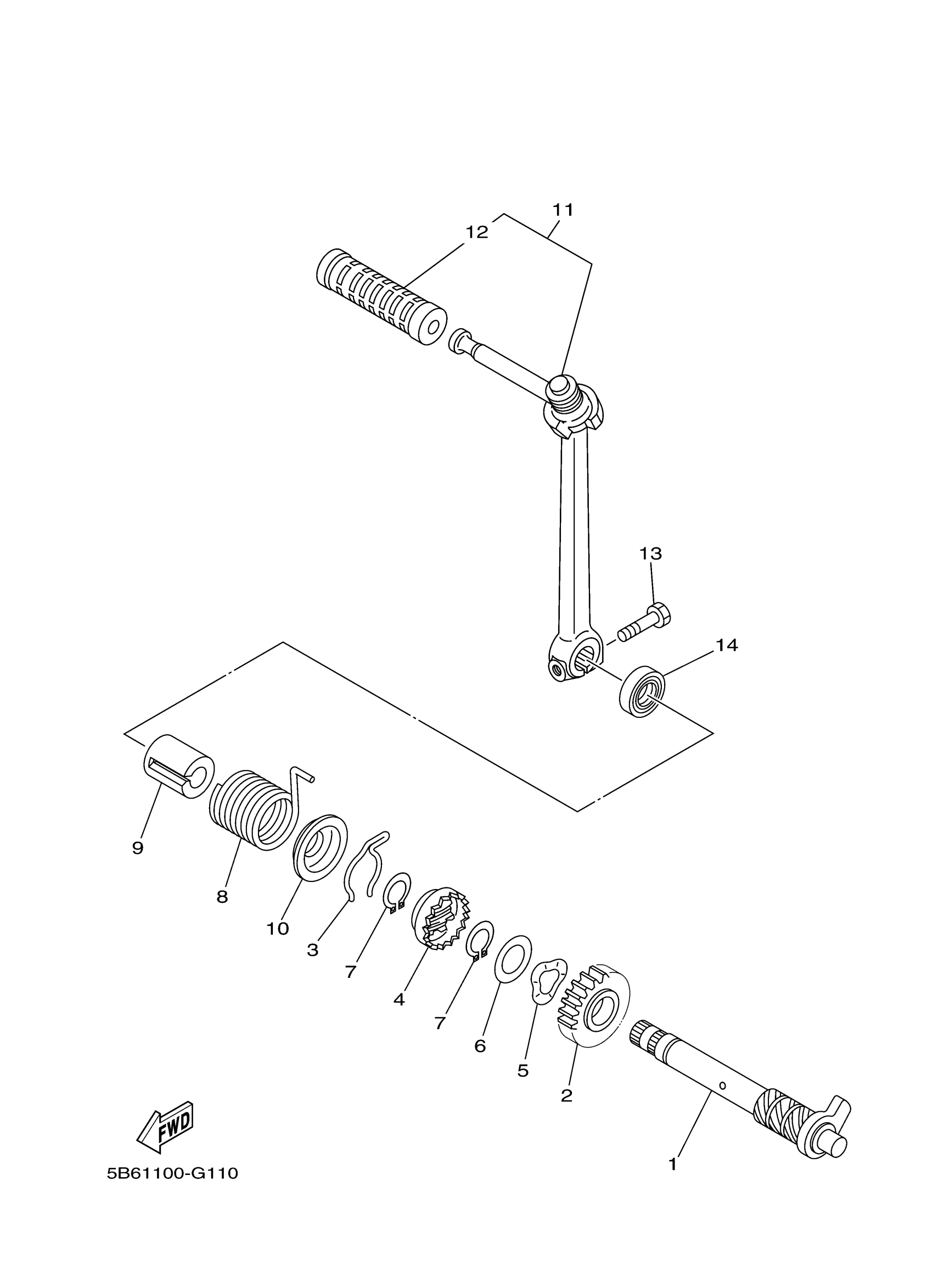
2
GEAR, KICK
5LM-E5641-00-00
Unavailable
4
WHEEL, RATCHET
296-15671-00-00
Unavailable
11
KICK CRANK ASSY
5B6-15620-00-00
Unavailable
