- Partiron
- OEM Parts
- Yamaha
- motorcycle
- 2015
- TTR110EF (TTR110E) B511 2015
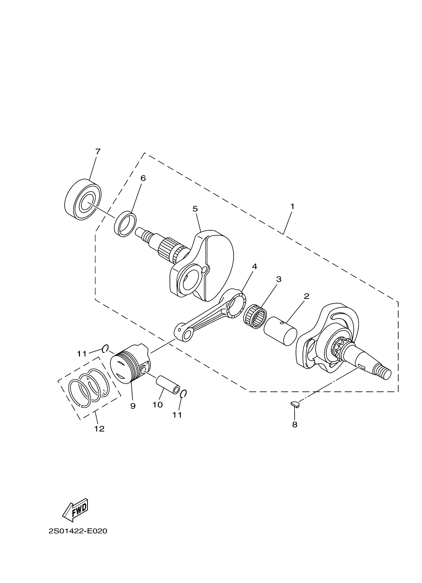
CRANKSHAFT PISTON
Yamaha TTR110EF (TTR110E) B511 2015 CRANKSHAFT PISTON Diagram
#
Description
Price
2
. PIN, CRANK 1
5LM-E1681-00-00
Unavailable
3
BEARING
93310-526X0-00
Unavailable
4
. ROD, CONNECTING
5TN-E1651-02-00
Unavailable
5
CRANK 2 (JUPITER Z)
5TP-E1422-00-00
Unavailable
6
. SPACER
5ER-E1445-00-00
Unavailable
9
PISTON (1.00MM O/S) 3P91 (KT)
3S0-E1638-00-00
Unavailable
12
PISTON RING SET (1.00MM O/S)
5TP-E1607-00-00
Unavailable
