Yamaha TT600N (TT600) 1985 STARTER Diagram
#
Description
Price
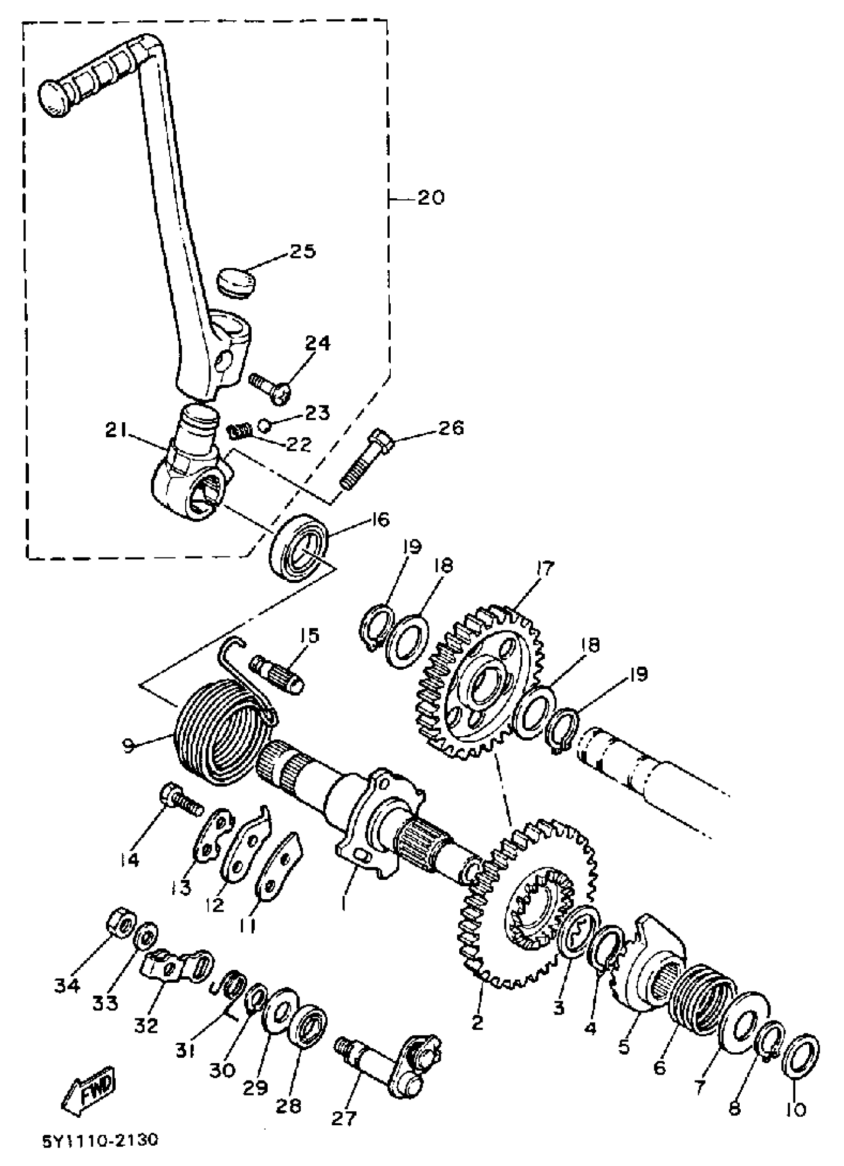
1
KICK CRANK ASSEMBLY
5Y1-15660-01-00
Unavailable
2
GEAR,KICK
34K-15641-00-00
Unavailable
5
WHEEL, RATCHET
5Y1-15671-01-00
Unavailable
6
SPRING COMPRESSION168156750000
90501-16107-00
Unavailable
7
WASHER, PLAIN (1JL)
90201-155K6-00
Unavailable
9
SPRING, TORSION
90508-32529-00
Unavailable
16
OIL SEAL (20X30X7-371)
93102-20108-00
Unavailable
17
GEAR, SPR0CKET IDLE 31T
5Y1-15651-01-00
Unavailable
18
WASHER PLATE 328171160000
90201-20276-00
Unavailable
19
CIRCLIP(1AR)
99009-20400-00
Unavailable
20
KICK CRANK ASSY
5Y1-15620-02-00
Unavailable
21
BOSS, KICK CRANK
5Y1-15621-01-00
Unavailable
22
SPRING COMPRESSION278156220000
90501-12081-00
Unavailable
23
BALL (12R)
93507-32031-00
Unavailable
24
SCREW, COUNTERSUNK (5Y1)
90152-06010-00
Unavailable
25
. PLUG, TAPER
90336-18038-00
Unavailable
26
BOLT, HEXAGON
97013-08030-00
Unavailable
27
LEVER DCOMP ASSEMBLY
3Y1-1561A-02-00
Unavailable
28
SEAL,OIL(SD 10-21-5 HS,3Y1)
93102-10207-00
Unavailable
29
WASHER, PLATE(52H)
90201-105J4-00
Unavailable
30
CIRCLIP(10W)
99009-10400-00
Unavailable
31
SPRING, TORSION
90508-14524-00
Unavailable
32
LEVER, CABLE
5Y1-1561G-00-00
Unavailable
33
WASHER, PLATE (4H7)
90201-061A5-00
Unavailable
34
NUT(JN5)
95317-06700-00
Unavailable
