- Partiron
- OEM Parts
- Yamaha
- motorcycle
- 1986
- TT350S (TT350) 1986
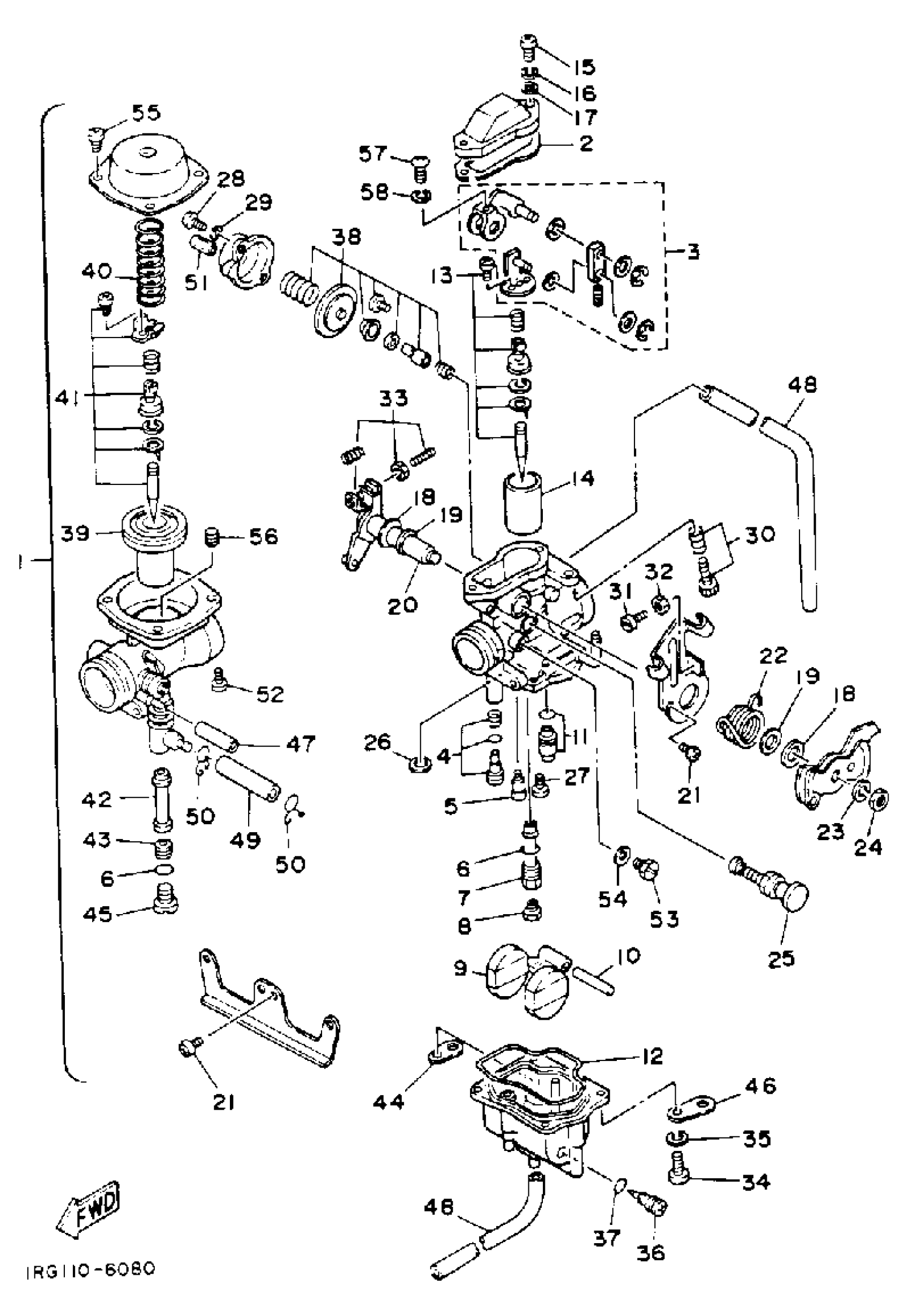
CARBURETOR
Yamaha TT350S (TT350) 1986 CARBURETOR Diagram
#
1
CARBURETOR ASSEMBLY 1
1RG-14301-02-00
Unavailable
3
BRACKET 1
1LN-14291-00-00
Unavailable
5
. JET, PILOT (#40)
30X-14342-20-00
Unavailable
7
. NOZZLE, MAIN
1RG-14341-00-00
Unavailable
8
JET, MAIN (#122) (85L)
288-14355-61-00
Unavailable
10
. PIN, FLOAT
6E5-14386-01-00
Unavailable
13
. NEEDLE SET
1RG-1490J-10-00
Unavailable
14
VALVE, THROTTLE 1
2JX-14312-35-00
Unavailable
16
WASHER, PLAIN (646)
92990-04600-00
Unavailable
17
WASHER, PLAIN (646)
92990-04600-00
Unavailable
18
. WASHER, PLAIN
5Y1-14357-00-00
Unavailable
19
O-RING
5Y1-14572-00-00
Unavailable
20
THROTTLE SHAFT ASSEMBLY
1LN-14930-00-00
Unavailable
21
SCREW, PAN HEAD(62X)
97885-05010-00
Unavailable
22
. SPRING, THROTTLE VALVE
30X-14131-00-00
Unavailable
23
. WASHER, SPRING
5Y1-14356-00-00
Unavailable
24
. NUT
5Y1-14358-00-00
Unavailable
25
PLUNGER, STARTER
15A-14371-01-00
Unavailable
26
GASKET
5Y1-14536-00-00
Unavailable
27
SCREW, BIND(6L2)
98980-04006-00
Unavailable
28
SCREW, PAN HEAD (E56)
98580-04010-00
Unavailable
29
WASHER, PLAIN (646)
92990-04600-00
Unavailable
30
. THROTTLE SCREW SET
3WP-14103-00-00
Unavailable
31
. SCREW
30X-14216-00-00
Unavailable
32
NUT
30X-14358-00-00
Unavailable
33
. STOP SCREW SET
30X-1490K-00-00
Unavailable
34
SCREW, PAN HEAD
98511-04012-00
Unavailable
35
WASHER, PLAIN (646)
92990-04600-00
Unavailable
36
PLUG, SCREW
5Y1-14115-00-00
Unavailable
37
O-RING
5Y1-14397-00-00
Unavailable
38
DIAPHRAGM SET 1
5Y1-1490A-00-00
Unavailable
39
. VALVE ASSEMBLY
1LN-14340-01-00
Unavailable
40
. SPRING
30X-14286-00-00
Unavailable
41
. NEEDLE SET
1LN-1490J-10-00
Unavailable
42
. NOZZLE, MAIN 2
30X-14355-00-00
Unavailable
43
JET, MAIN
30X-14343-63-00
Unavailable
44
PLATE
5Y1-14146-00-00
Unavailable
45
. VALVE, DRAIN (30X-14394-00)
1RG-14394-00-00
Unavailable
46
. PLATE
30X-14146-00-00
Unavailable
47
PIPE
5Y1-14349-00-00
Unavailable
48
PIPE
1JK-14197-00-00
Unavailable
49
PIPE
30X-14148-00-00
Unavailable
50
CLIP
5Y1-14159-00-00
Unavailable
51
. PIPE
30X-14149-00-00
Unavailable
52
SCREW, PAN HEAD (E56)
98580-04010-00
Unavailable
53
SCREW
5H0-14991-00-00
Unavailable
54
GASKET
5H0-14126-00-00
Unavailable
55
SCREW, PAN HEAD (713)
98580-04008-00
Unavailable
56
. AIR JET, MAIN
30X-14337-40-00
Unavailable
57
SCREW, PANHEAD (796)
98580-04016-00
Unavailable
58
YBS67-4 WASHER, SPRING
92990-04100-00
Unavailable
