- Partiron
- OEM Parts
- Suzuki
- Motorcycle
- 1981
- TS250 (1981)
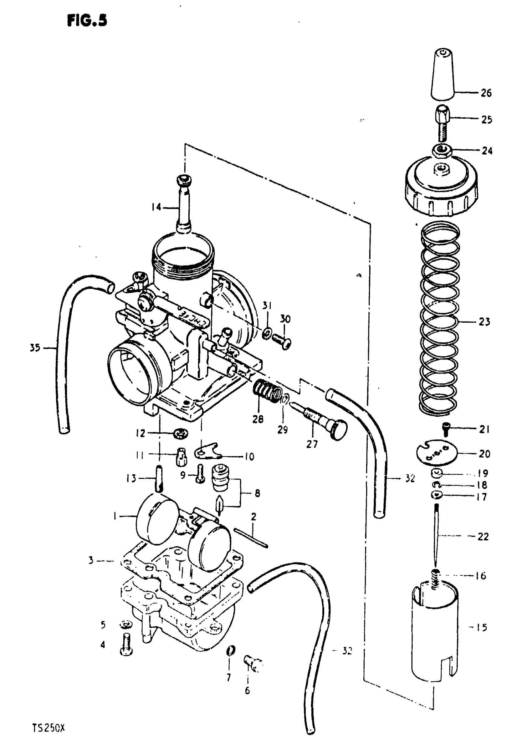
CARBURETOR
Suzuki TS250 (1981) CARBURETOR Diagram
#
Description
Price
0
CARBURETOR ASSY | Includes Item(s) 1 - 32
13200-30900
Unavailable
11
JET, MAIN (200)
09491-40006
Unavailable
14
JET, NEEDLE (0-7)
09494-00262
Unavailable
15
VALVE, THROTTLE (CA:2.5)
13551-29900
Unavailable
20
PLATE
13581-30910
Unavailable
22
NEEDLE, JET (5DH55)
13383-29900
Unavailable
