- Partiron
- OEM Parts
- Suzuki
- Motorcycle
- 1970
- TS250 (1970)
CRANKCASE COVER
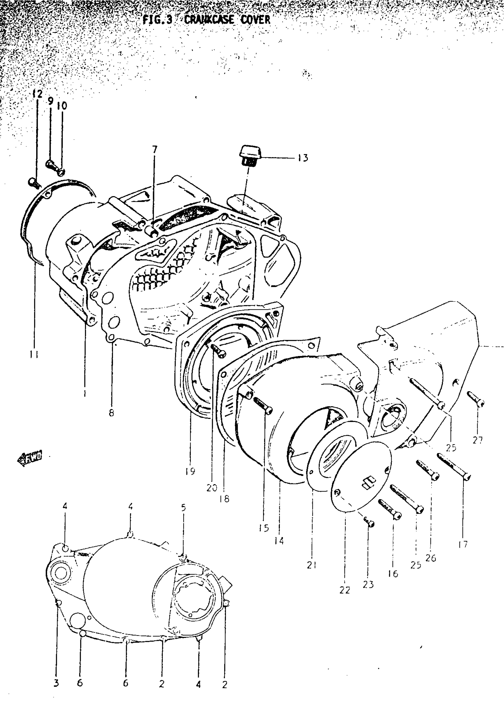
Suzuki TS250 (1970) CRANKCASE COVER Diagram
#
Description
Price
1
COVER, RH
11340-16401
Unavailable
1
COVER, RH
11340-16402
Unavailable
8
GASKET
11482-16400
Unavailable
9
PLUG, OIL LEVEL
09247-06001
Unavailable
11
COVER, OIL PUMP
11411-16400
Unavailable
12
SCREW
02111-06208
Unavailable
14
COVER, LH This part replaces 11351-16402.
11351-16403
Unavailable
14
COVER, LH | F.NO.23694~
11351-16403
Unavailable
15
SCREW
02111-06258
Unavailable
16
SCREW
02111-06658
Unavailable
18
GASKET This part replaces 11355-16400.
11355-16401
Unavailable
18
GASKET | F.NO.23964~
11355-16401
Unavailable
19
COVER, INNER LH
11356-16400
Unavailable
19
COVER, INNER LH | F.NO.23694~
11356-16401
Unavailable
20
SCREW
02111-06168
Unavailable
21
GASKET, INSPECTION CAP
11491-01000
Unavailable
22
CAP, MAGNETO INSPECTION
11381-01000
Unavailable
23
SCREW
02111-05088
Unavailable
24
COVER, ENGINE SPROCKET | 1; TO 11360-16401 WITH 23200-16400
11360-16400
Unavailable
24
COVER, ENGINE SPROCKET | 2
11360-16401
Unavailable
