- Partiron
- OEM Parts
- Suzuki
- Motorcycle
- 1981
- TS185 (1981)
CRANKSHAFT
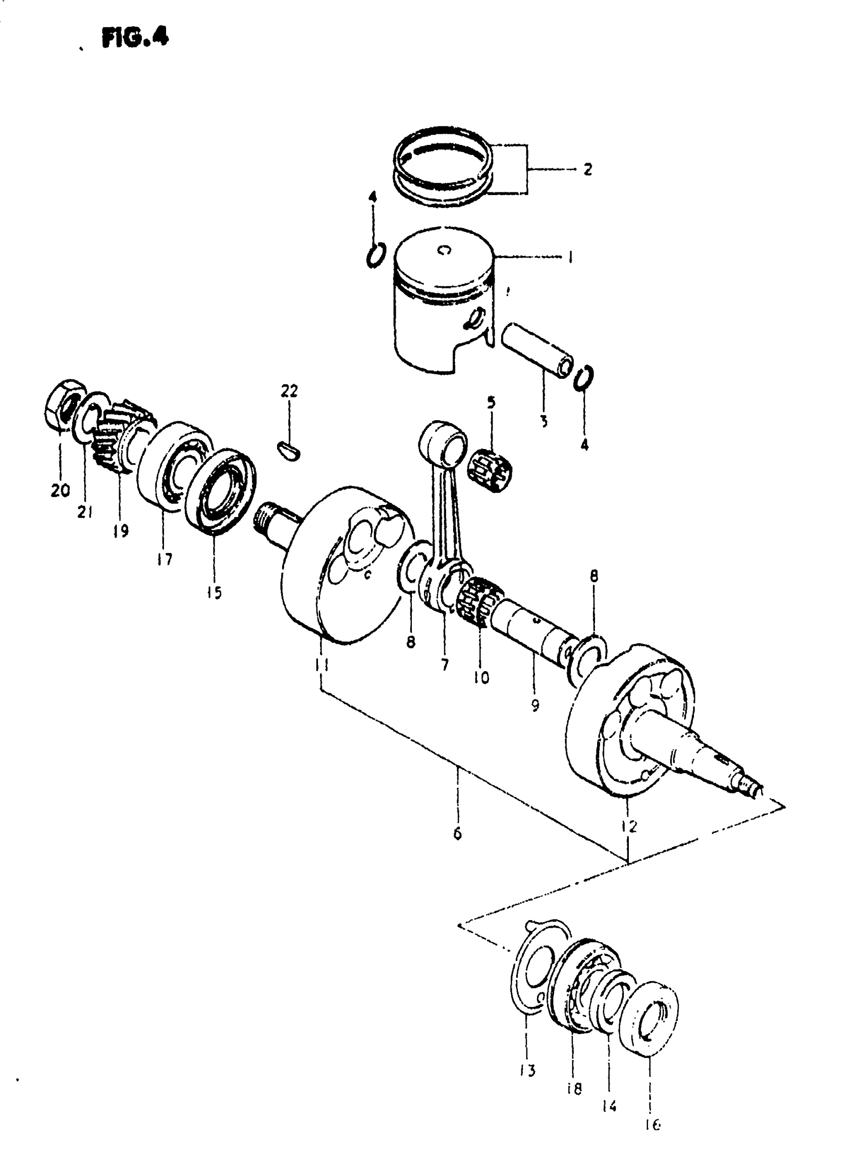
Suzuki TS185 (1981) CRANKSHAFT Diagram
#
Description
Price
1
PISTON SET,OS:. This part replaces 12110-29900-050.
12100-29900-050
Unavailable
1
PISTON SET,0S:1 This part replaces 12110-29900-100.
12100-29900-100
Unavailable
2
RING SET, PISTON (OS:1.0)
12140-97311
Unavailable
6
NO DESCRIPTION AVAILABLE | Includes Item(s) 7 - 12 This part replaces 12200-29601.
12200-29602
Unavailable
11
CRANKSHAFT, RH
12221-29600
Unavailable
12
NO DESCRIPTION AVAILABLE This part replaces 12261-29601.
12261-29602
Unavailable
19
GEAR, PRIMARY DRIVE (NT:29)
21111-29000
Unavailable
