- Partiron
- OEM Parts
- Suzuki
- Motorcycle
- 1981
- TS125 (1981)
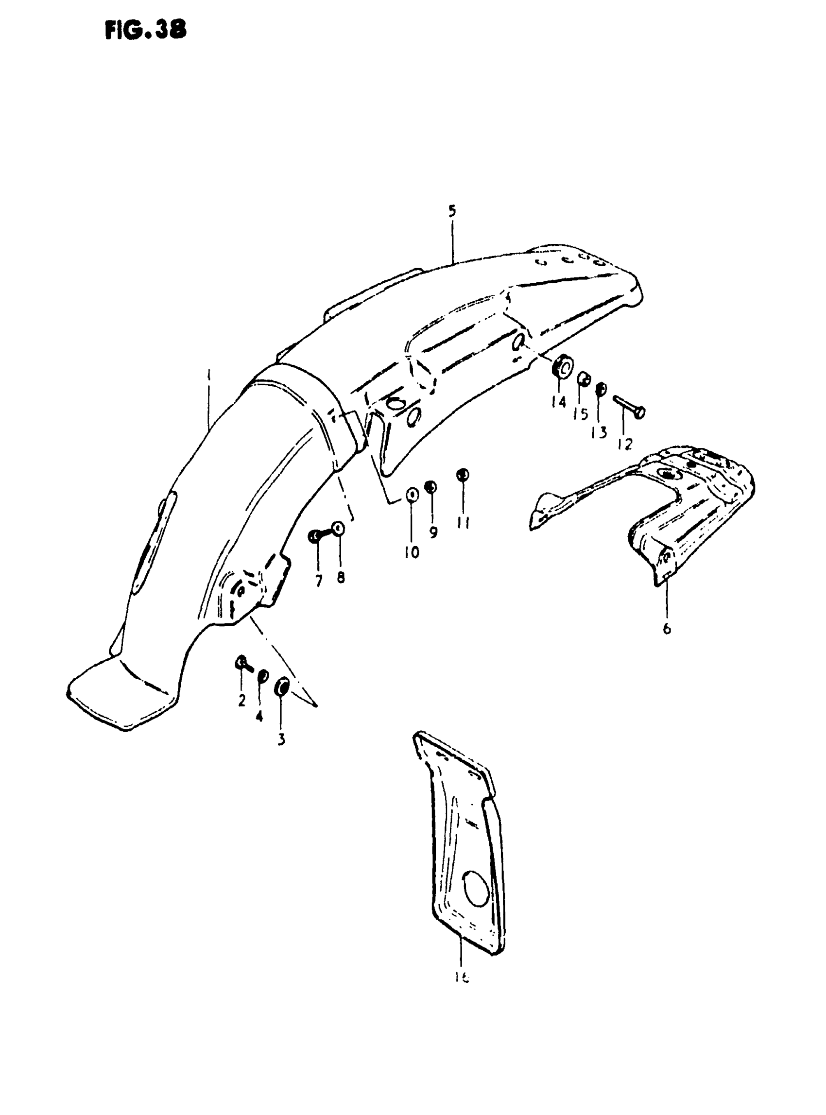
REAR FENDER
Suzuki TS125 (1981) REAR FENDER Diagram
#
Description
Price
1
BODY, REAR FENDER FRONT
63112-48500
Unavailable
5
FENDER, REAR (BLUE)
63113-48501-08Y
Unavailable
6
REINFORCEMENT
63120-48501
Unavailable
16
MUD FLAP | OPT
63331-30601
Unavailable
