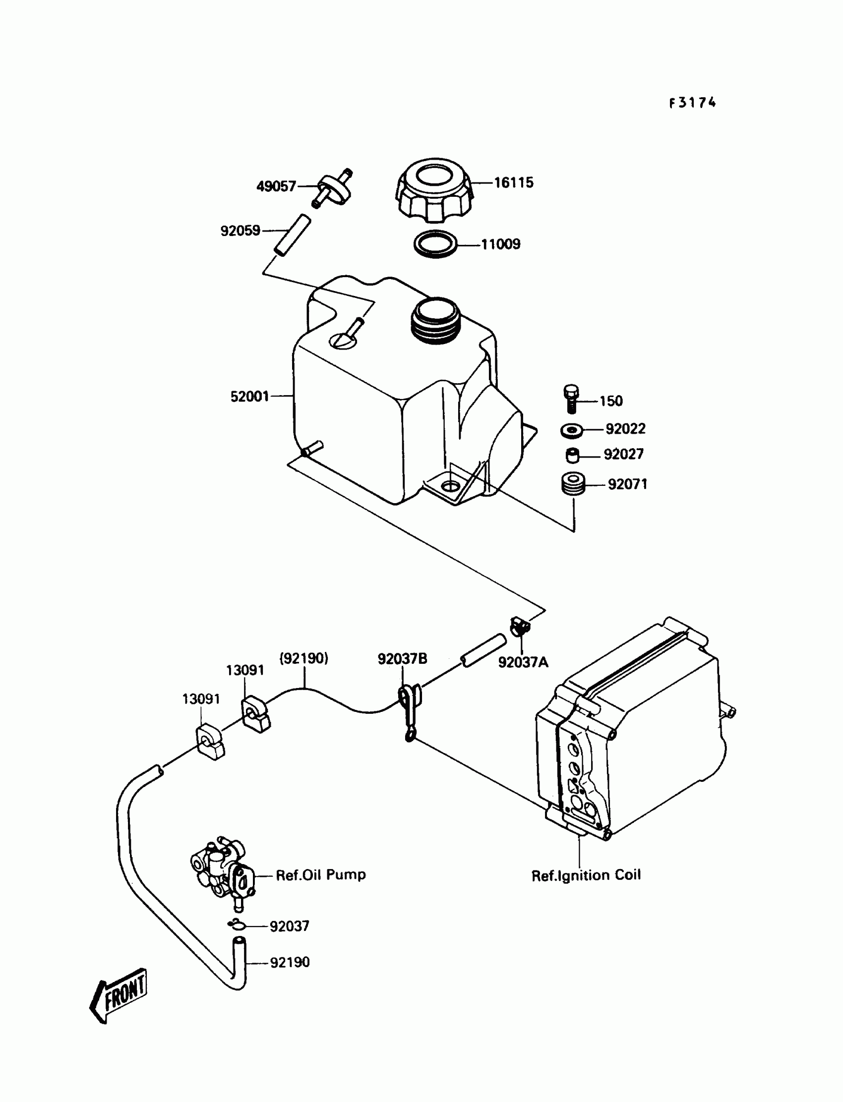
Kawasaki TS Oil Tank Diagram
#
Description
Price
52001
TANK-OIL
52001-3709
Unavailable
92059
TUBE,5.8X12.2X55
92059-3026
Unavailable
92190
TUBE,5.8X10.8X1150
92059-3867
Unavailable
#
52001
52001-3709
Unavailable
92059
92059-3026
Unavailable
92190
92059-3867
Unavailable
Edit ride
