- Partiron
- OEM Parts
- Honda
- ALL-TERRAIN VEHICLE
- 2002
- TRX90A (02) SPORTRAX 90, JPN, VIN# JH3TE180-2K700001 TO JH3TE180-2K799999
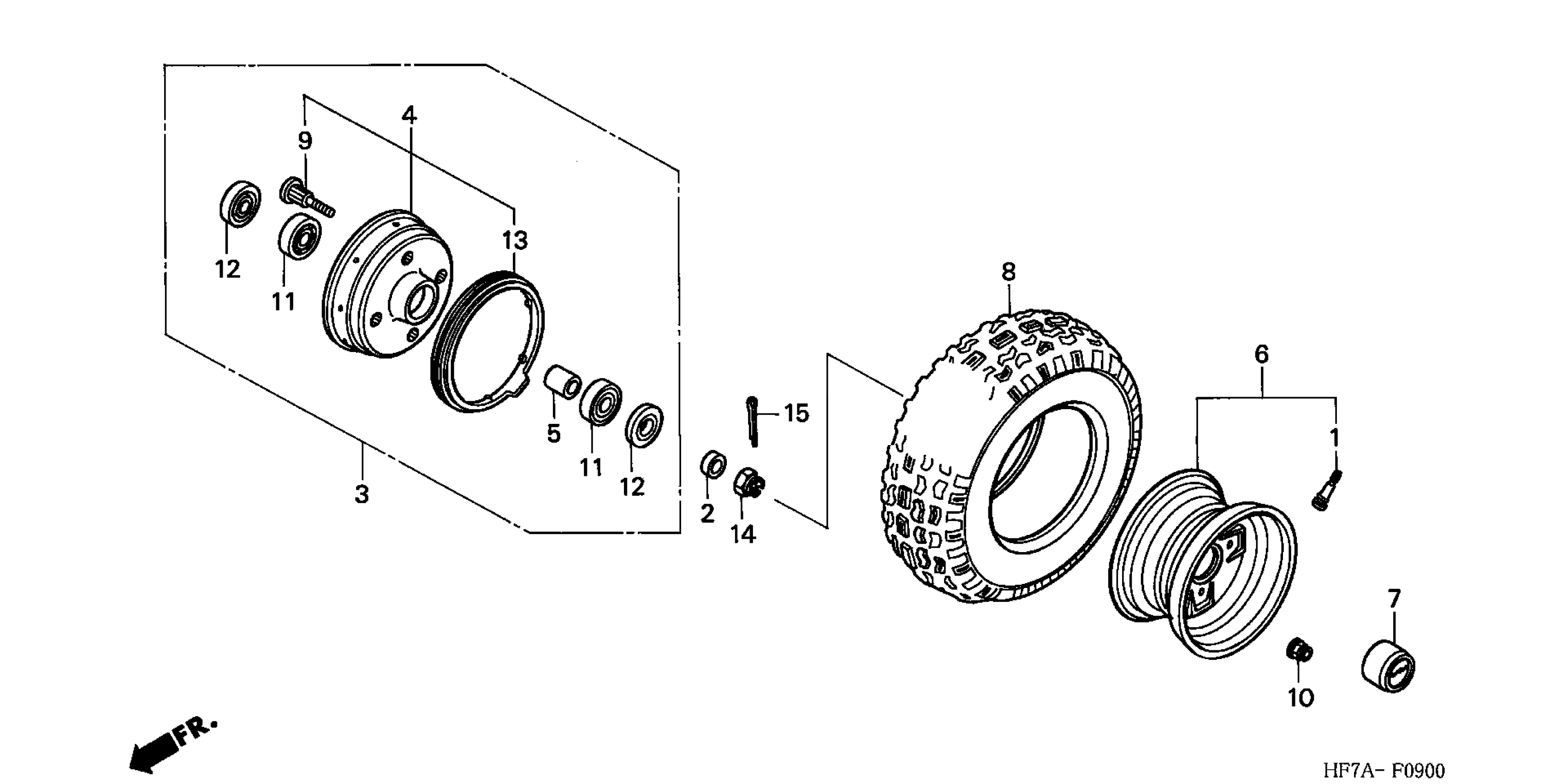
FRONT WHEEL
Honda TRX90A (02) SPORTRAX 90, JPN, VIN# JH3TE180-2K700001 TO JH3TE180-2K799999 FRONT WHEEL Diagram
#
Description
Price
2
COLLAR, FR. AXLE SIDE
44312-HC3-000
Unavailable
3
HUB ASSY., FR. WHEEL
44600-HF7-000
Unavailable
8
TIRE, FR. (20X7.00-8) (OHTSU) This part replaces 44751-VM6-682.
44751-VM6-682AT
Unavailable
