- Partiron
- OEM Parts
- Honda
- ALL-TERRAIN VEHICLE
- 2009
- TRX700XX3A (09) TRX700XX, JPN, VIN# JH2TE364-9K000001
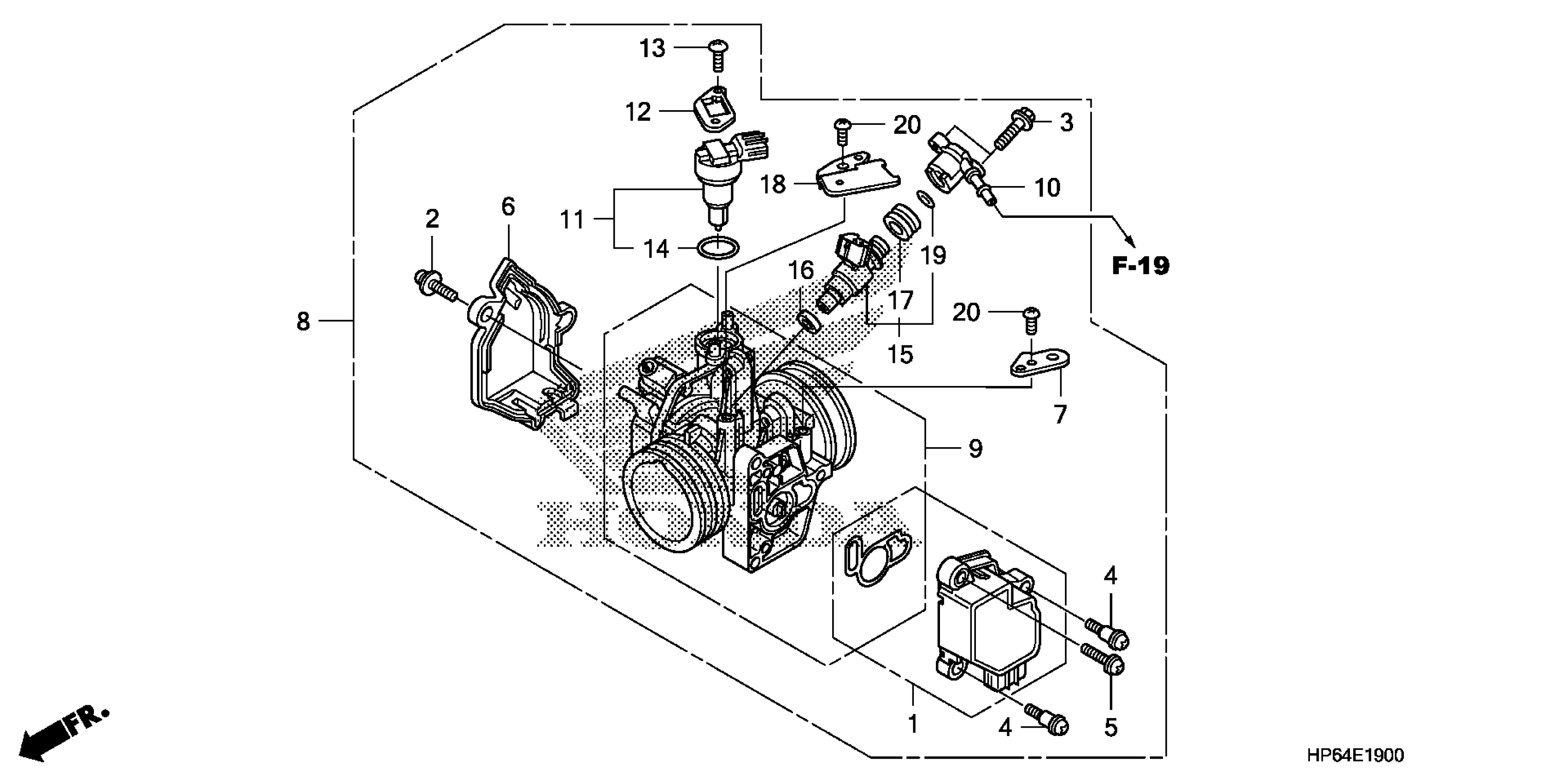
THROTTLE BODY
Honda TRX700XX3A (09) TRX700XX, JPN, VIN# JH2TE364-9K000001 THROTTLE BODY Diagram
#
Description
Price
8
BODY ASSY., THROTTLE (GQA2A A)
16400-HP6-A01
Unavailable
