- Partiron
- OEM Parts
- Honda
- ALL-TERRAIN VEHICLE
- 2009
- TRX700XX3A (09) TRX700XX, JPN, VIN# JH2TE364-9K000001
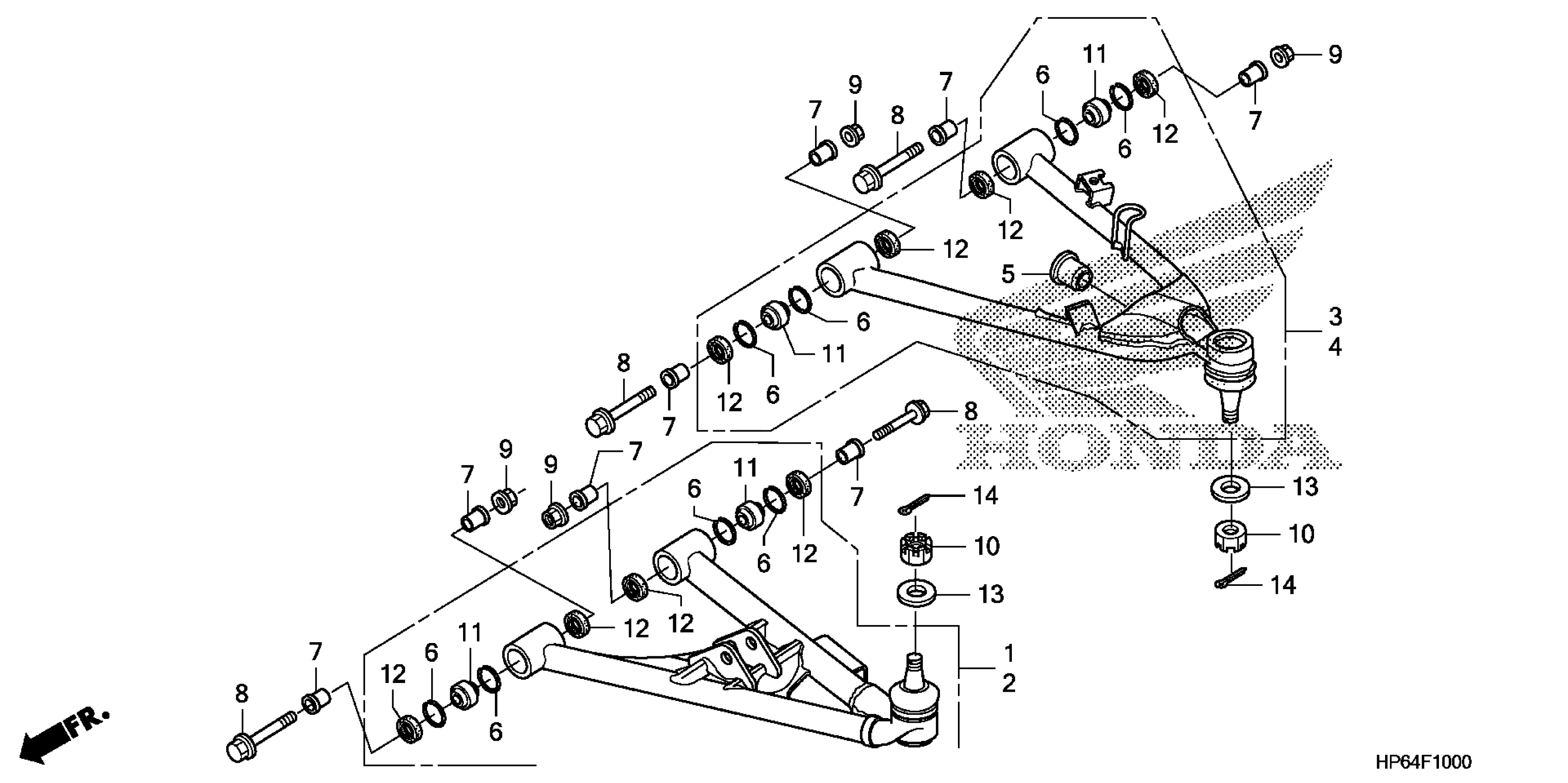
FRONT ARM
Honda TRX700XX3A (09) TRX700XX, JPN, VIN# JH2TE364-9K000001 FRONT ARM Diagram
#
Description
Price
FRONT ARM
#
Edit ride
