Partiron

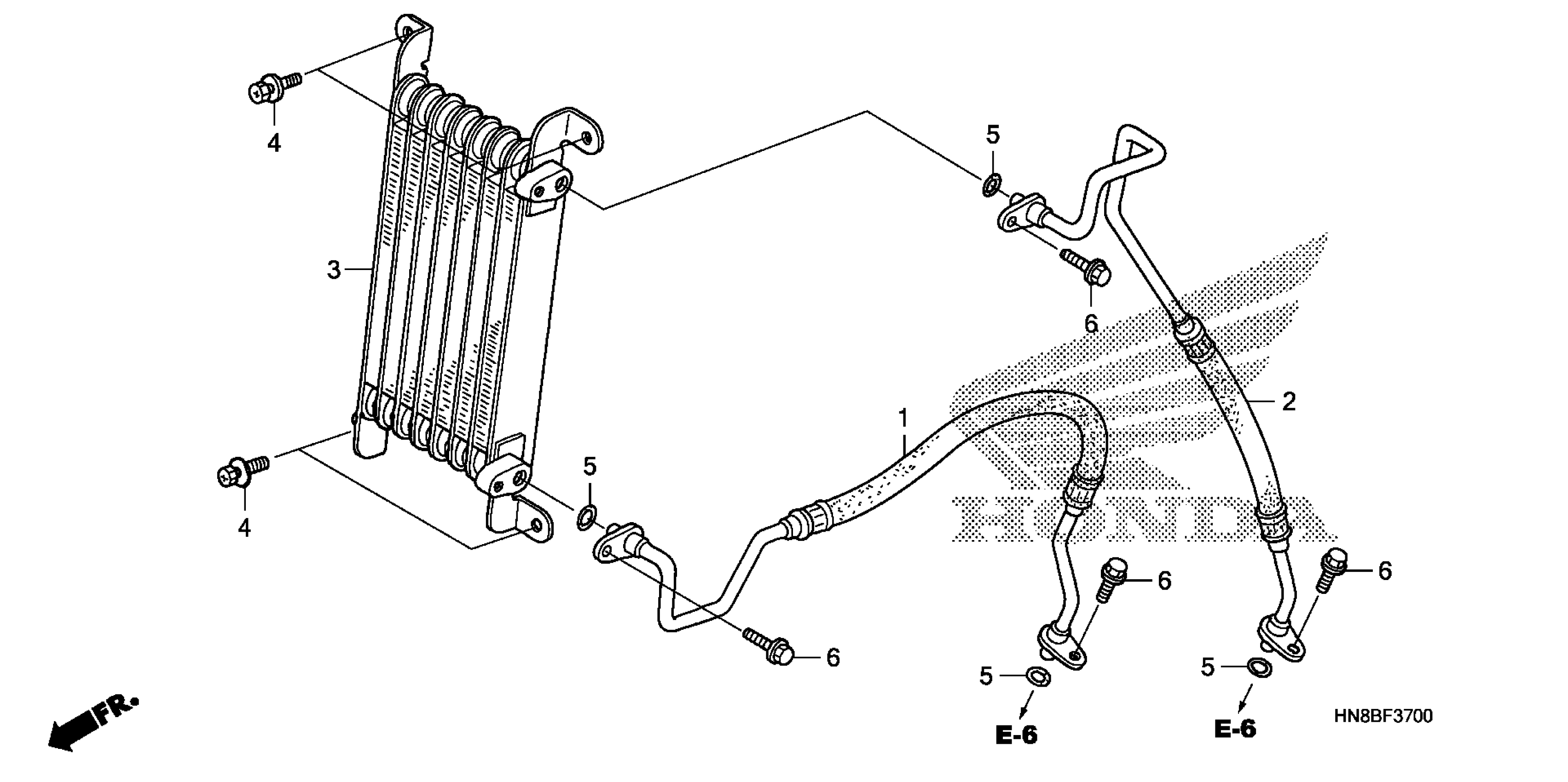
Honda TRX680FA2AC (16) ALL-TERRAIN VEHICLE (ATV), USA, VIN# 1HFTE336-G4100001 OIL COOLER Diagram

#

Description
Price

1

HOSE A, OIL

15530-HN8-000

$62.18

2

HOSE B, OIL

15540-HN8-000

$70.77

3

COOLER, OIL

15600-HN8-003

$121.75

4

BOLT-WASHER (6X15)

90107-HN8-003

$1.98

5

O-RING (11X2.4)

91314-HN6-000

$1.87

6

BOLT, FLANGE (6X18)

95701-06018-00

$1.62