- Partiron
- OEM Parts
- Honda
- ALL-TERRAIN VEHICLE
- 2016
- TRX680FA2AC (16) ALL-TERRAIN VEHICLE (ATV), USA, VIN# 1HFTE336-G4100001
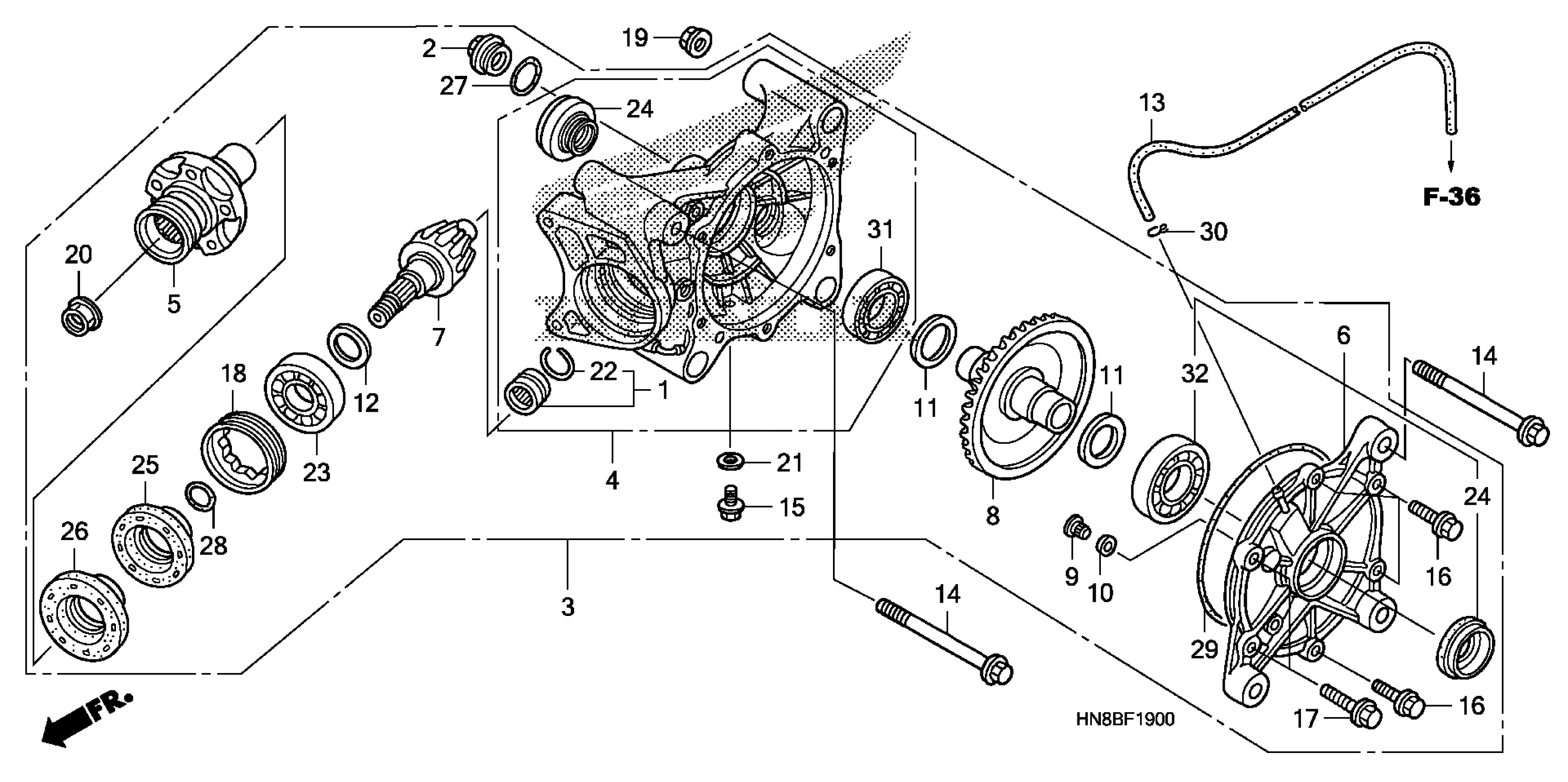
FINAL DRIVEN GEAR
Honda TRX680FA2AC (16) ALL-TERRAIN VEHICLE (ATV), USA, VIN# 1HFTE336-G4100001 FINAL DRIVEN GEAR Diagram
#
Description
Price
2
CAP, VALVE ADJ. This part replaces 12361-035-000.
12361-300-000
Unavailable
2
CAP, VALVE ADJ.
12361-300-000
Unavailable
2
CAP, VALVE ADJ. This part replaces 12361-371-980.
12361-300-000
Unavailable
