- Partiron
- OEM Parts
- Honda
- ALL-TERRAIN VEHICLE
- 2005
- TRX650FAA (05) FOURTRAX RINCON, USA, VIN# 1HFTE280-54000001
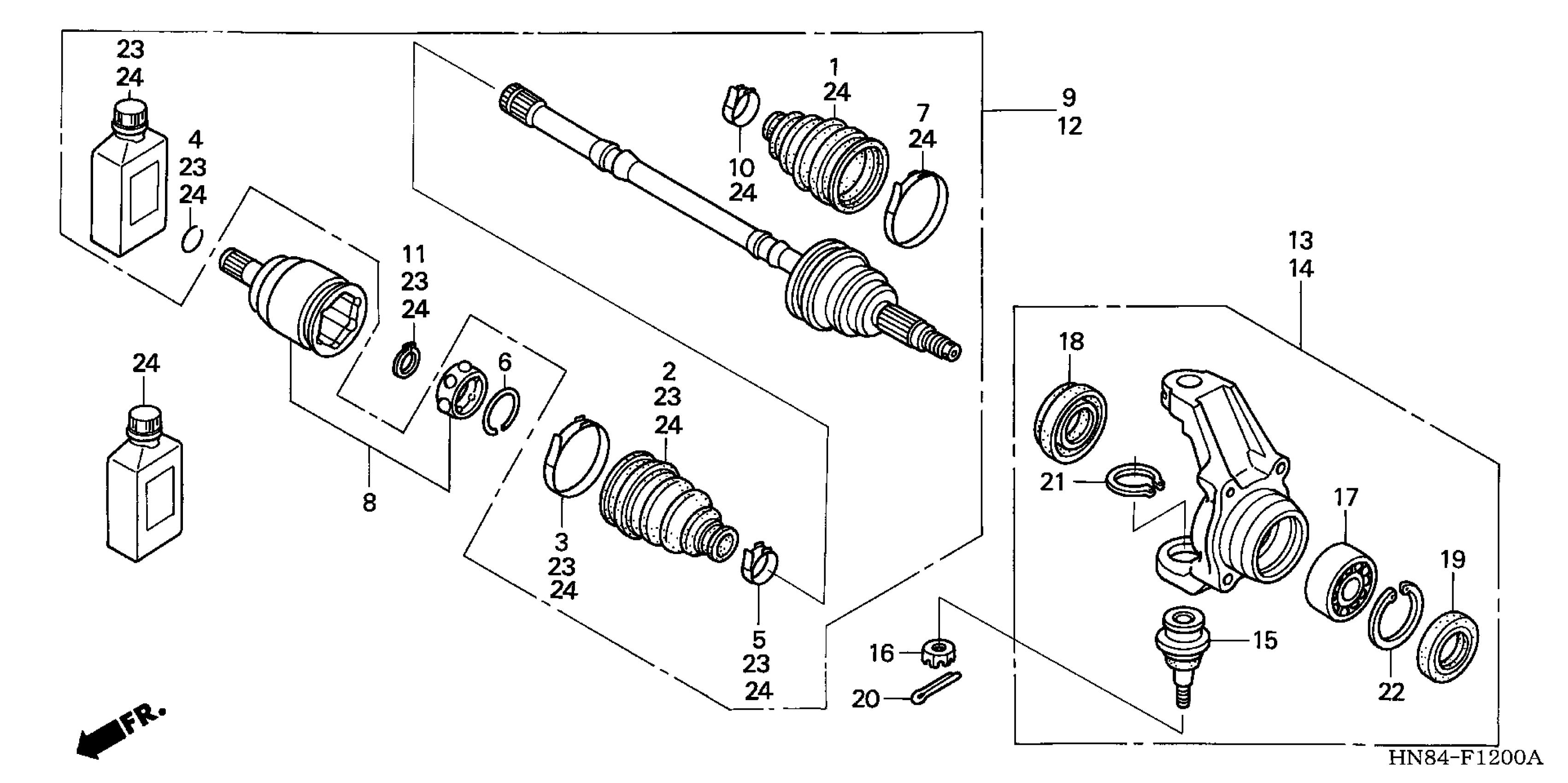
FRONT KNUCKLE
Honda TRX650FAA (05) FOURTRAX RINCON, USA, VIN# 1HFTE280-54000001 FRONT KNUCKLE Diagram
#
Description
Price
