- Partiron
- OEM Parts
- Honda
- ALL-TERRAIN VEHICLE
- 2022
- TRX520FM12AC (22) ALL-TERRAIN VEHICLE (ATV), USA, VIN# 1HFTE445-N4800001 TO 1HFTE445-N4899999
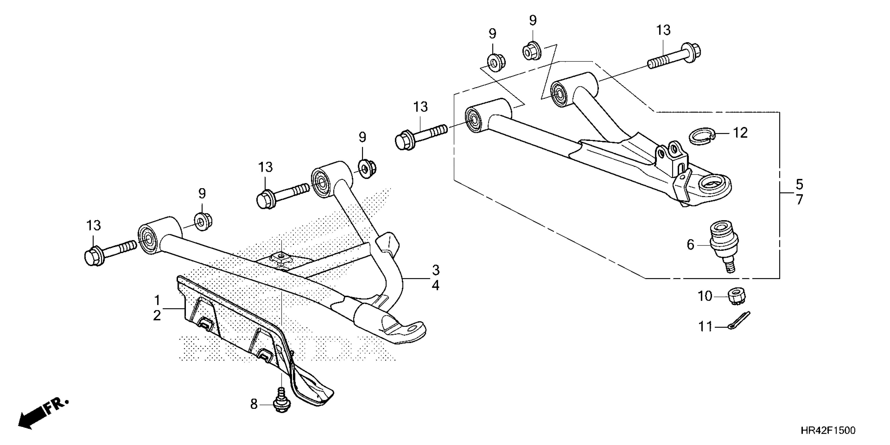
FRONT ARM
Honda TRX520FM12AC (22) ALL-TERRAIN VEHICLE (ATV), USA, VIN# 1HFTE445-N4800001 TO 1HFTE445-N4899999 FRONT ARM Diagram
#
Description
Price
