- Partiron
- OEM Parts
- Honda
- ALL-TERRAIN VEHICLE
- 2024
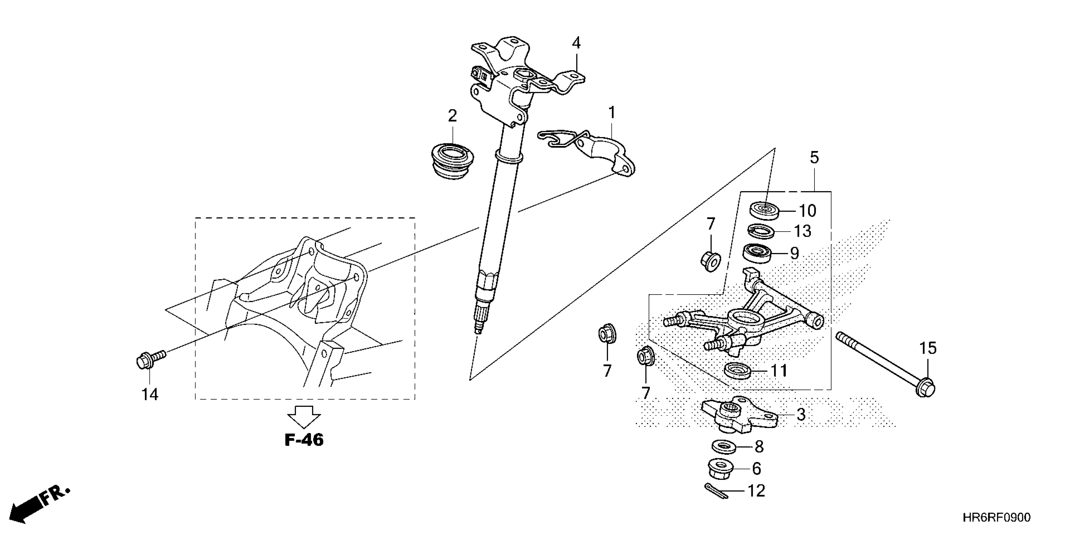
- TRX520FA5A (24) ALL-TERRAIN VEHICLE (ATV), USA, VIN# 1HFTE46E-R4900001 TO 1HFTE46E-R4999999
STEERING SHAFT
Honda TRX520FA5A (24) ALL-TERRAIN VEHICLE (ATV), USA, VIN# 1HFTE46E-R4900001 TO 1HFTE46E-R4999999 STEERING SHAFT Diagram
#
Description
Price
