- Partiron
- OEM Parts
- Honda
- ALL-TERRAIN VEHICLE
- 2009
- TRX500FPE2A (09) FOREMAN P/S ES, USA, VIN# 1HFTE31J-94400001 TO 1HFTE31J-94499999
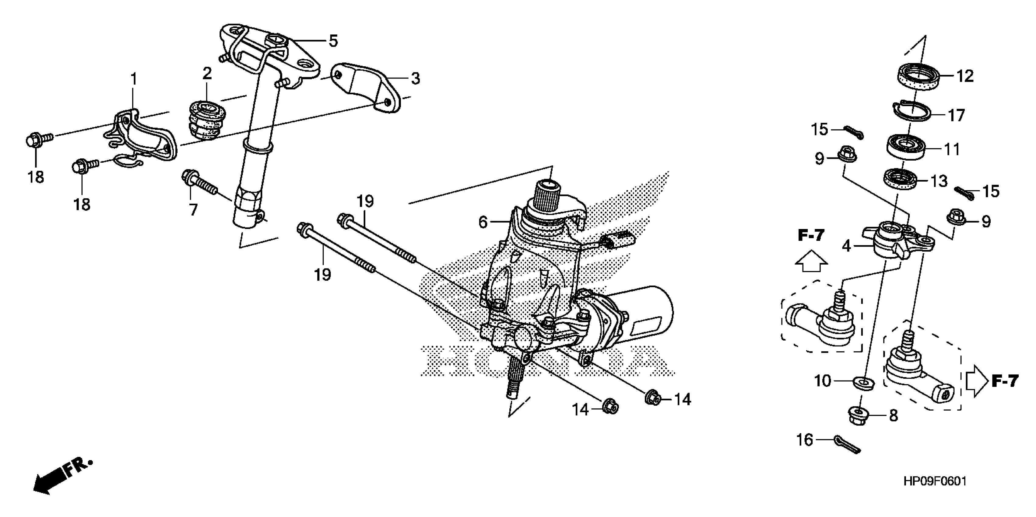
STEERING SHAFT (POWER STEERING) (TRX500FPE/FPM)
Honda TRX500FPE2A (09) FOREMAN P/S ES, USA, VIN# 1HFTE31J-94400001 TO 1HFTE31J-94499999 STEERING SHAFT (POWER STEERING) (TRX500FPE/FPM) Diagram
#
Description
Price
6
POWER STEERING UNIT ASSY. (EPS) (CONTACT MC TECHLINE 800-421-1 900 OPTION #9 TO ORDER)
53600-HN2-B70
$1,414.38
19
BOLT, FLANGE (8X100)
95801-08100-00
Unavailable
