- Partiron
- OEM Parts
- Honda
- ALL-TERRAIN VEHICLE
- 2011
- TRX500FPAA (11) FOURTRAX FOREMAN RUBICON, USA, VIN# 1HFTE26E-B4100001
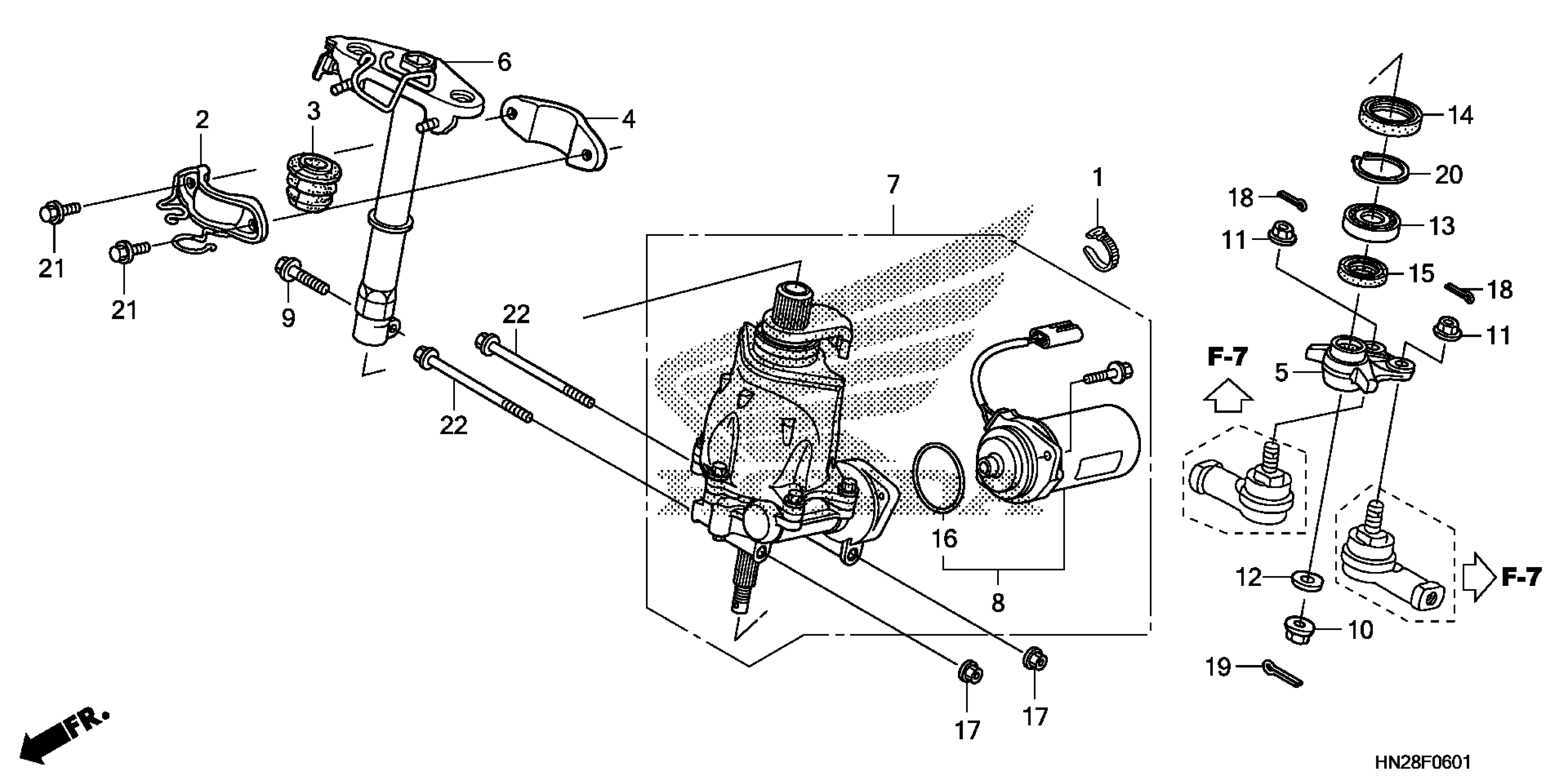
STEERING SHAFT (POWER STEERING) (TRX500FPA)
Honda TRX500FPAA (11) FOURTRAX FOREMAN RUBICON, USA, VIN# 1HFTE26E-B4100001 STEERING SHAFT (POWER STEERING) (TRX500FPA) Diagram
#
Description
Price
7
POWER STEERING UNIT ASSY. (EPS) (CONTRLD PART:CONTACT TECHLINE OR USE TL CONNECT TO ORDER)
53600-HN2-B70
$1,414.38
22
BOLT, FLANGE (8X100) (SOURCE: VINTAGE PARTS INC.)
95801-08100-00
Unavailable
