- Partiron
- OEM Parts
- Honda
- ALL-TERRAIN VEHICLE
- 2019
- TRX500FM2AC (19) ALL-TERRAIN VEHICLE (ATV), USA, VIN# 1HFTE503-K4500001
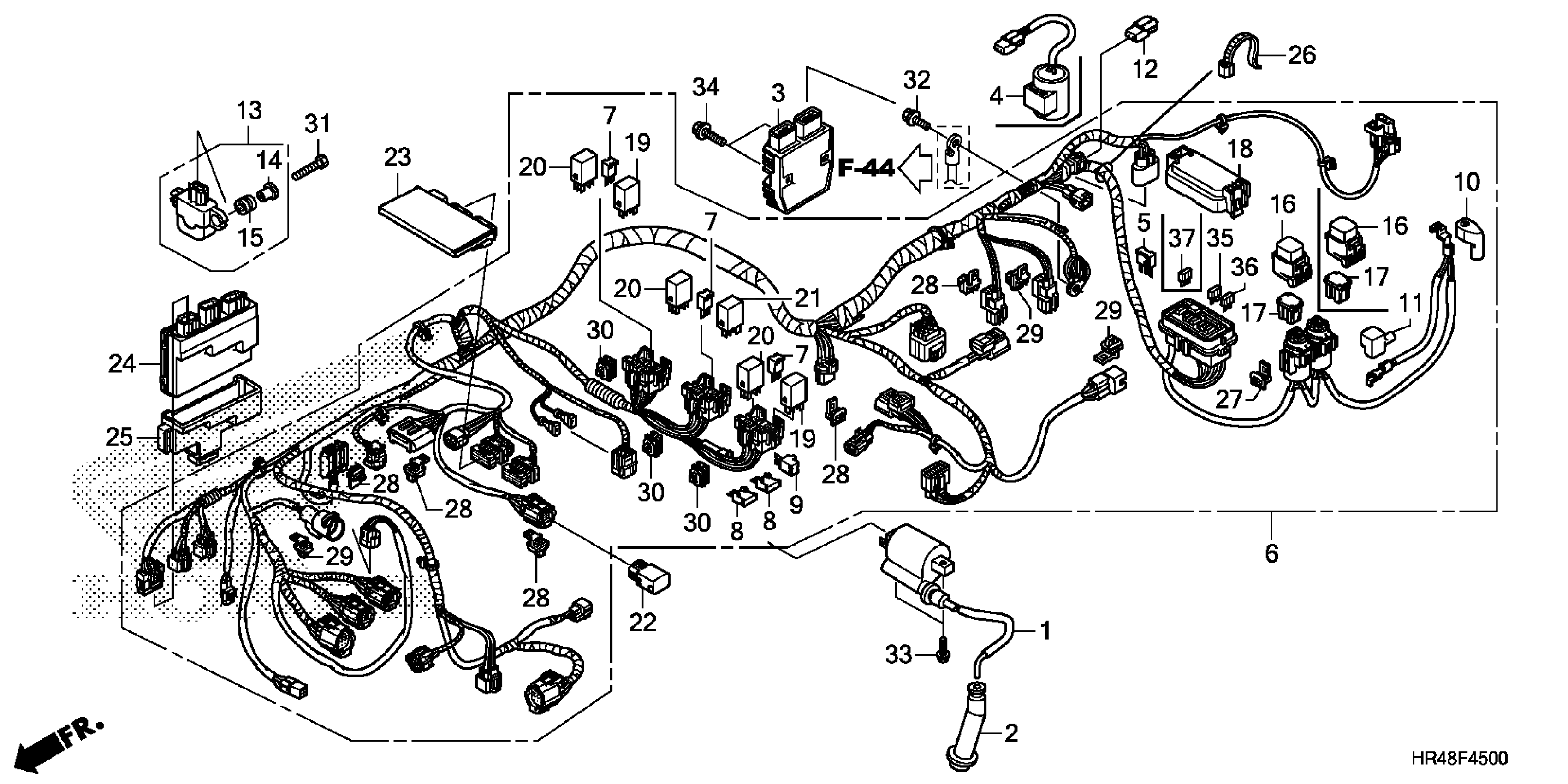
WIRE HARNESS
Honda TRX500FM2AC (19) ALL-TERRAIN VEHICLE (ATV), USA, VIN# 1HFTE503-K4500001 WIRE HARNESS Diagram
#
Description
Price
