- Partiron
- OEM Parts
- Honda
- ALL-TERRAIN VEHICLE
- 2014
- TRX500FM22AC (14) TRX500FM2, USA, VIN# 1HFTE40E-E4000001 TO 1HFTE40E-E4099999
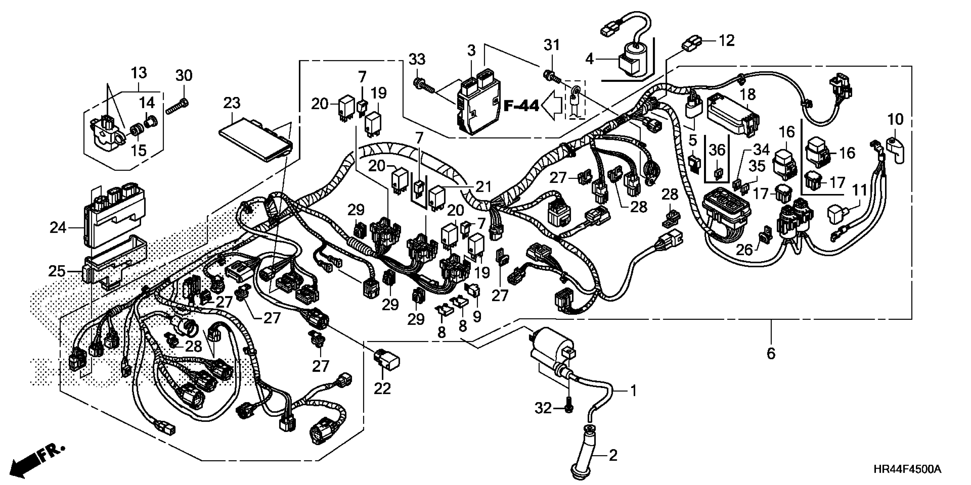
WIRE HARNESS
Honda TRX500FM22AC (14) TRX500FM2, USA, VIN# 1HFTE40E-E4000001 TO 1HFTE40E-E4099999 WIRE HARNESS Diagram
#
Description
Price
