- Partiron
- OEM Parts
- Honda
- ALL-TERRAIN VEHICLE
- 2009
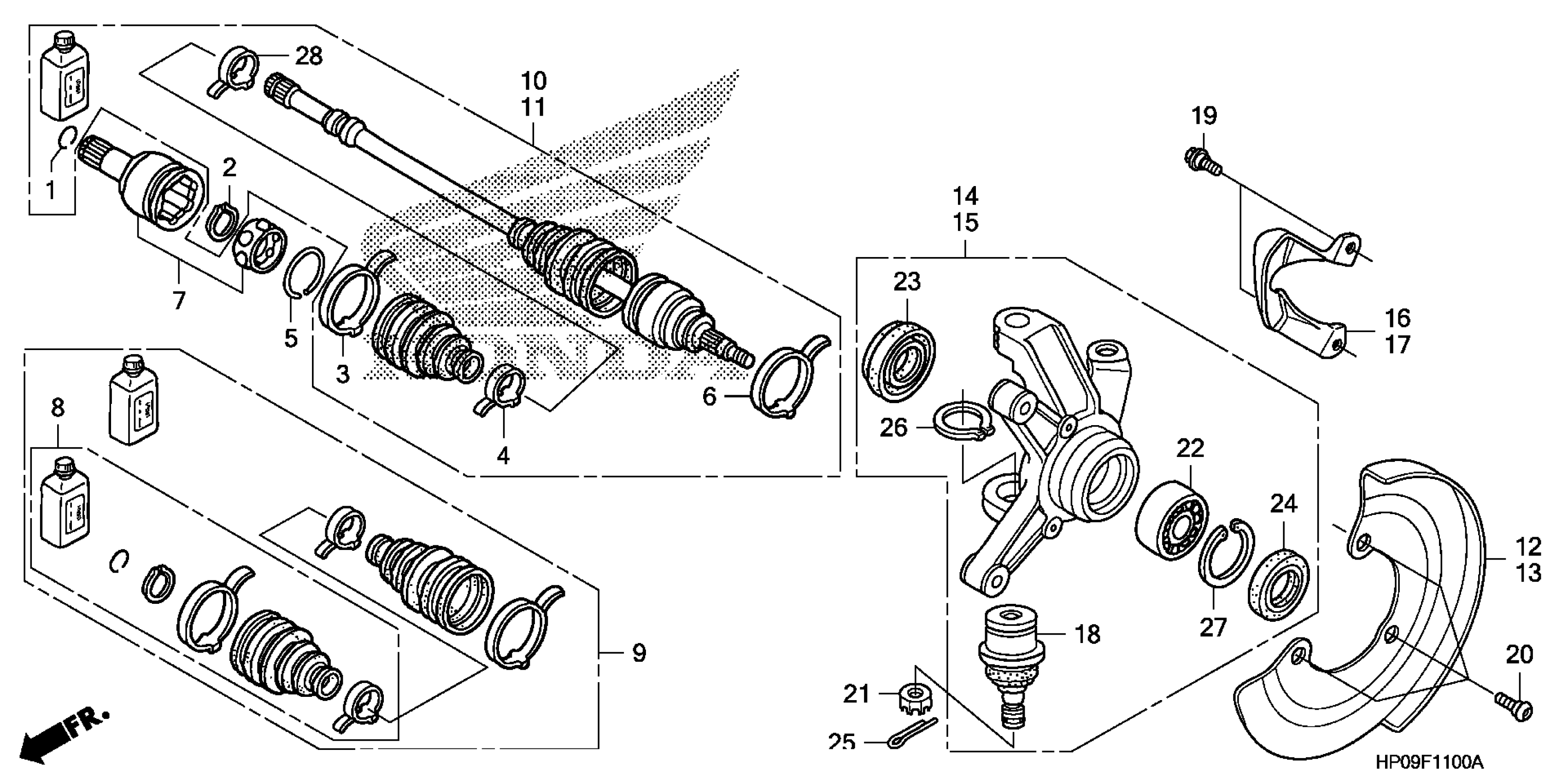
- TRX500FE2A (09) FOURTRAX FOREMAN ES, USA, VIN# 1HFTE315-94400001 TO 1HFTE315-94499999
KNUCKLE
Honda TRX500FE2A (09) FOURTRAX FOREMAN ES, USA, VIN# 1HFTE315-94400001 TO 1HFTE315-94499999 KNUCKLE Diagram
#
Description
Price
