- Partiron
- OEM Parts
- Honda
- ALL-TERRAIN VEHICLE
- 2015
- TRX500FE12AC (15) TRX500FE1, USA, VIN# 1HFTE447-F4100001
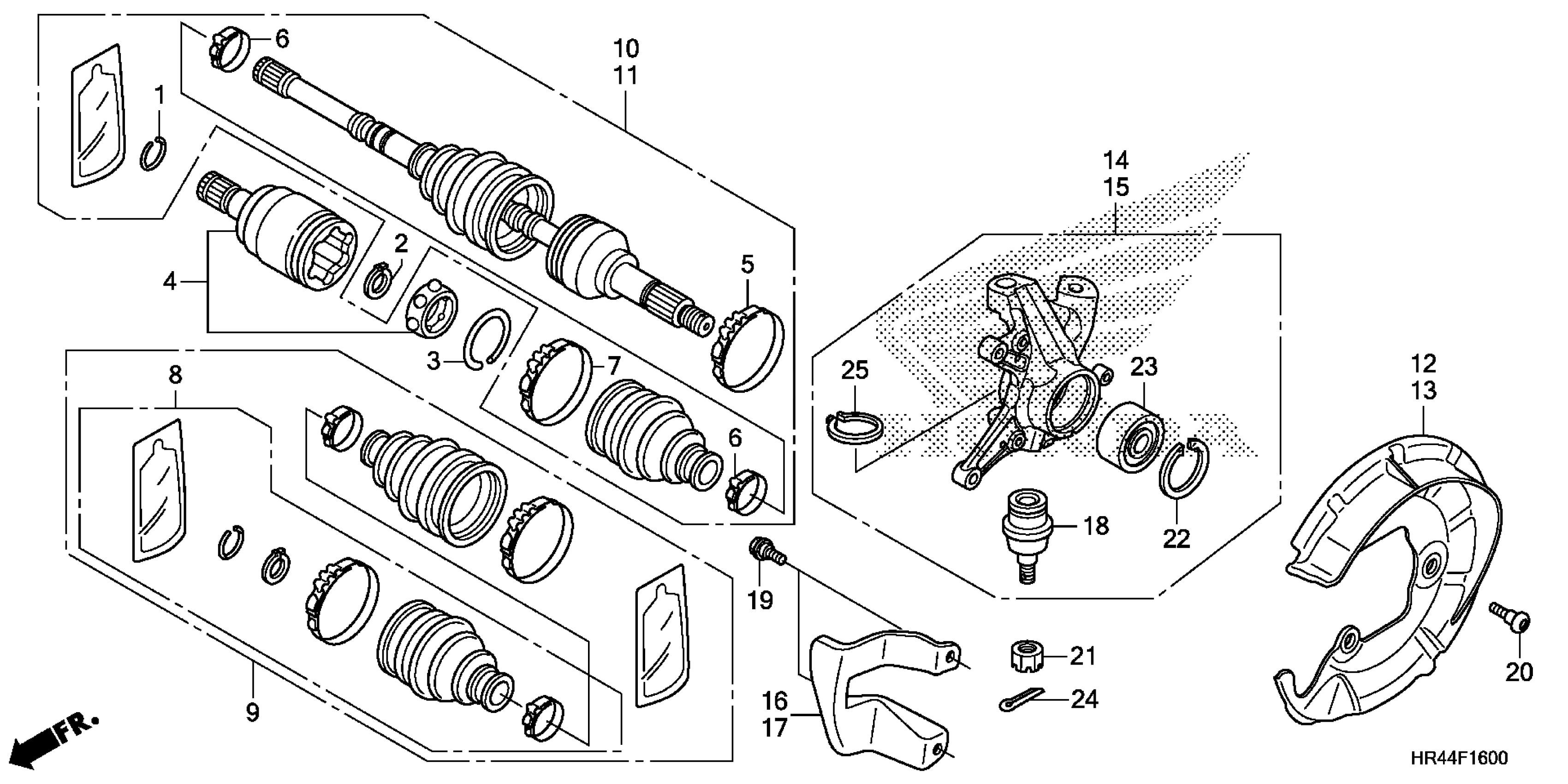
FRONT KNUCKLE + FRONT DRIVE SHAFT
Honda TRX500FE12AC (15) TRX500FE1, USA, VIN# 1HFTE447-F4100001 FRONT KNUCKLE + FRONT DRIVE SHAFT Diagram
#
Description
Price
