- Partiron
- OEM Parts
- Honda
- ALL-TERRAIN VEHICLE
- 2014
- TRX500FAAC (14) ALL-TERRAIN VEHICLE (ATV), USA, VIN# 1HFTE260-E4400001
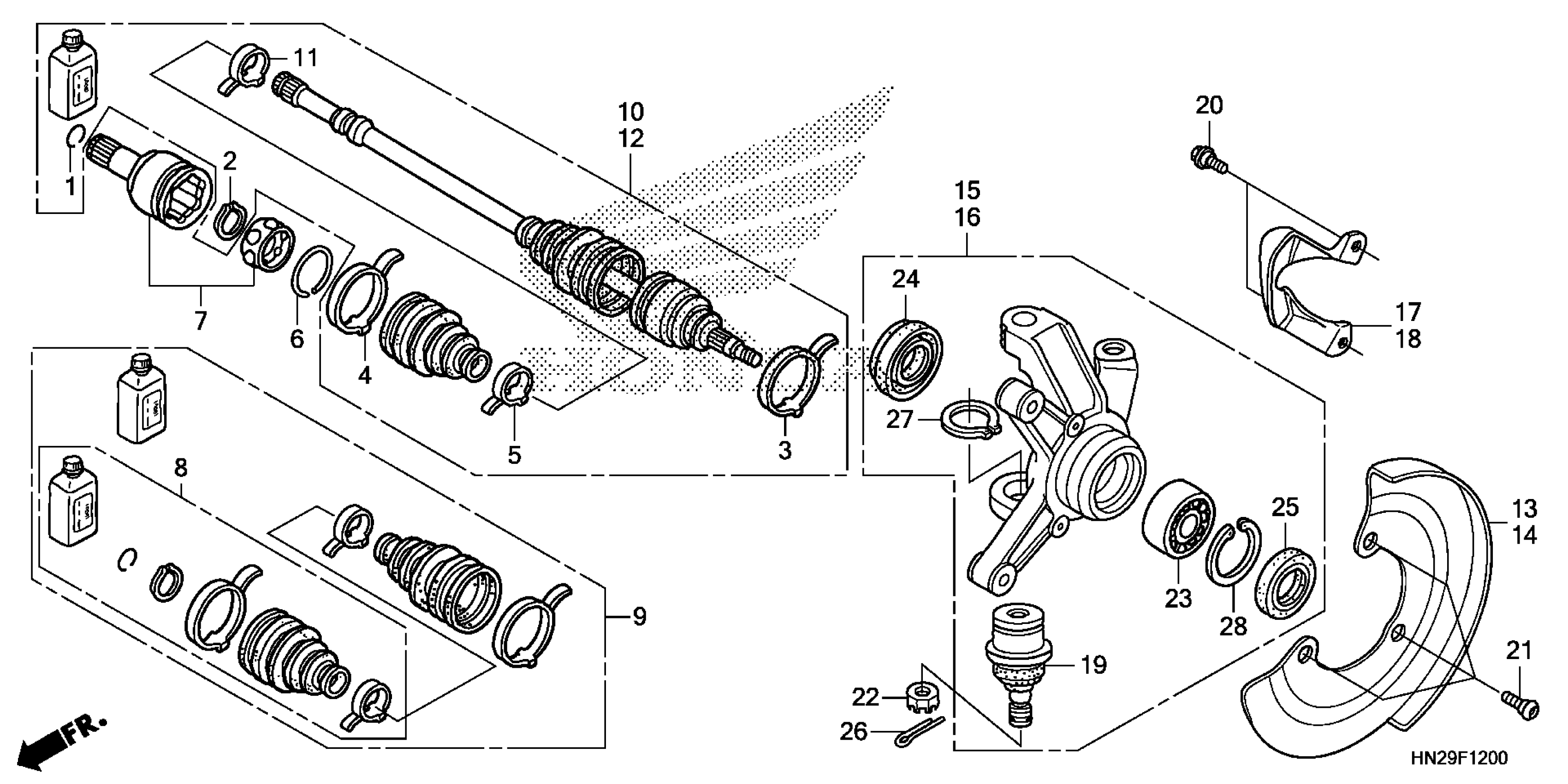
KNUCKLE
Honda TRX500FAAC (14) ALL-TERRAIN VEHICLE (ATV), USA, VIN# 1HFTE260-E4400001 KNUCKLE Diagram
#
Description
Price
