Partiron

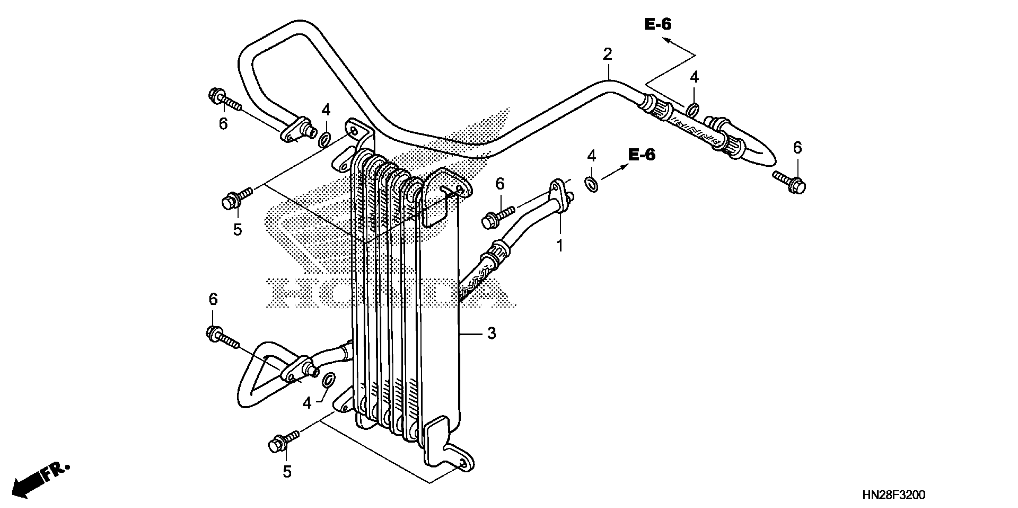
Honda TRX500FAA (09) FOURTRAX FOREMAN RUBICON, USA, VIN# 1HFTE260-94800001 TO 1HFTE260-94899999 OIL COOLER Diagram

#

Description
Price

1

HOSE, OIL (LOWER)

15530-HN2-A20

$55.84

2

HOSE, OIL (UPPER)

15540-HN2-A20

$64.39

3

COOLER, OIL

15600-HN2-A21

$105.20

4

O-RING (11X2.4)

91314-HN6-000

$1.87

5

BOLT-WASHER (6X12)

90120-GHB-601

$1.98

6

BOLT, FLANGE (6X18) BOLT, HEX. (6X18)

95701-06018-00

$1.62