- Partiron
- OEM Parts
- Honda
- ALL-TERRAIN VEHICLE
- 2019
- TRX500FA72AC (19) ALL-TERRAIN VEHICLE (ATV), USA, VIN# 1HFTE52C-K4400001
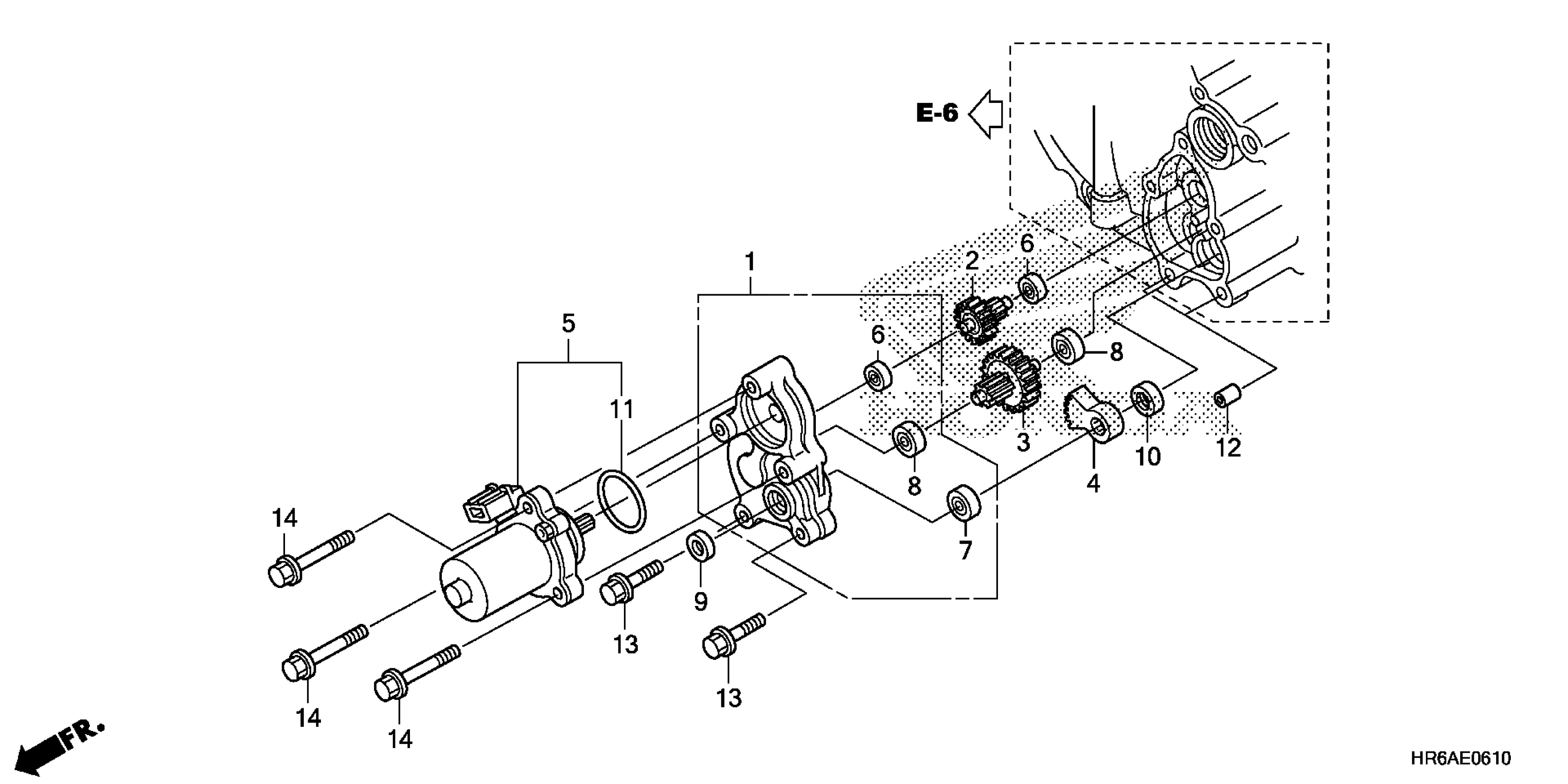
CONTROL MOTOR
Honda TRX500FA72AC (19) ALL-TERRAIN VEHICLE (ATV), USA, VIN# 1HFTE52C-K4400001 CONTROL MOTOR Diagram
#
Description
Price
2
GEAR, SHIFT REDUCTION (41T/7T)
24615-HP7-A01
Unavailable
4
GEAR, SHIFT REDUCTION (45T)
24617-HP7-A01
Unavailable
