- Partiron
- OEM Parts
- Honda
- ALL-TERRAIN VEHICLE
- 2018
- TRX500FA5A (18) TRX500FA5, USA, VIN# 1HFTE46E-J4300001
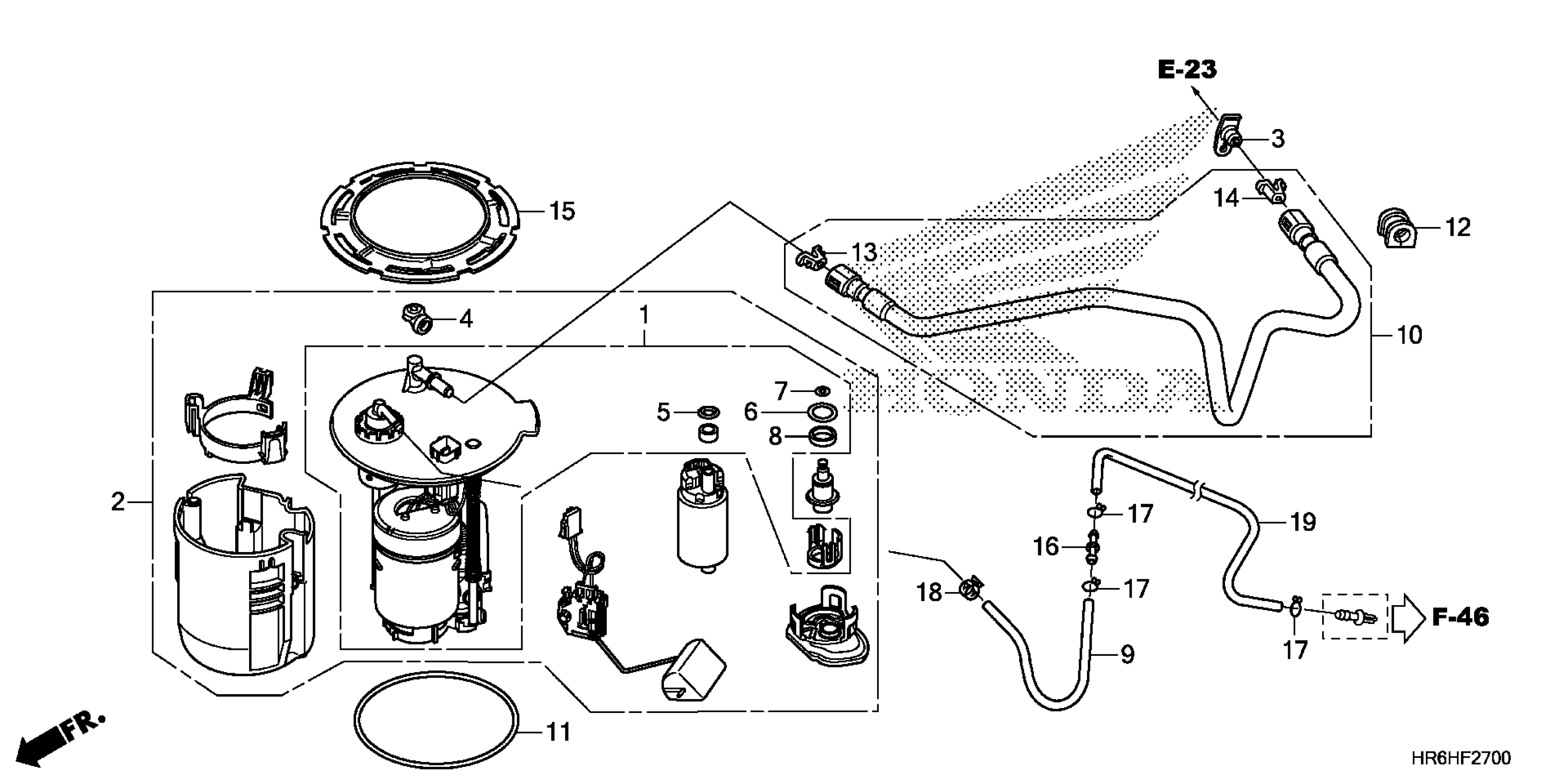
FUEL PUMP
Honda TRX500FA5A (18) TRX500FA5, USA, VIN# 1HFTE46E-J4300001 FUEL PUMP Diagram
#
Description
Price
FUEL PUMP
#
Edit ride
