- Partiron
- OEM Parts
- Honda
- ALL-TERRAIN VEHICLE
- 2007
- TRX450ERA (07) ALL-TERRAIN VEHICLE (ATV), JPN, VIN# JH2TE320-7K100001 TO JH2TE320-7K199999
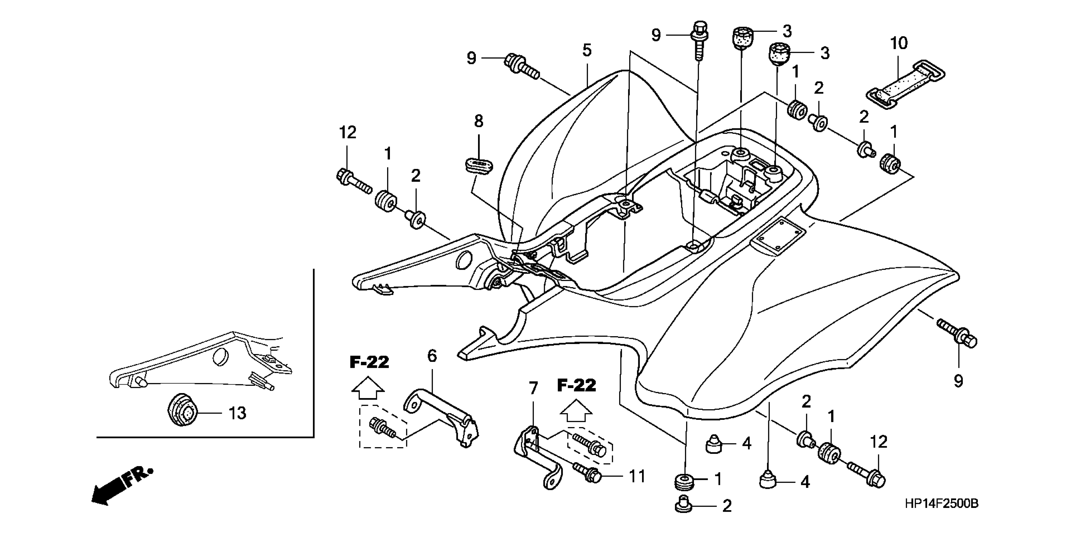
REAR FENDER
Honda TRX450ERA (07) ALL-TERRAIN VEHICLE (ATV), JPN, VIN# JH2TE320-7K100001 TO JH2TE320-7K199999 REAR FENDER Diagram
#
Description
Price
5
FENDER, RR. *R299R* (WL) (NITRO RED) | Nitro red R299R;
80100-HP1-900ZB
Unavailable
5
FENDER, RR. *NH196* (WL) (ROSS WHITE) | Ross white NH196;
80100-HP1-900ZA
Unavailable
