- Partiron
- OEM Parts
- Honda
- ALL-TERRAIN VEHICLE
- 2009
- TRX450ER3A (09) ALL-TERRAIN VEHICLE (ATV), JPN, VIN# JH2TE327-9K200001 TO JH2TE327-9K299991
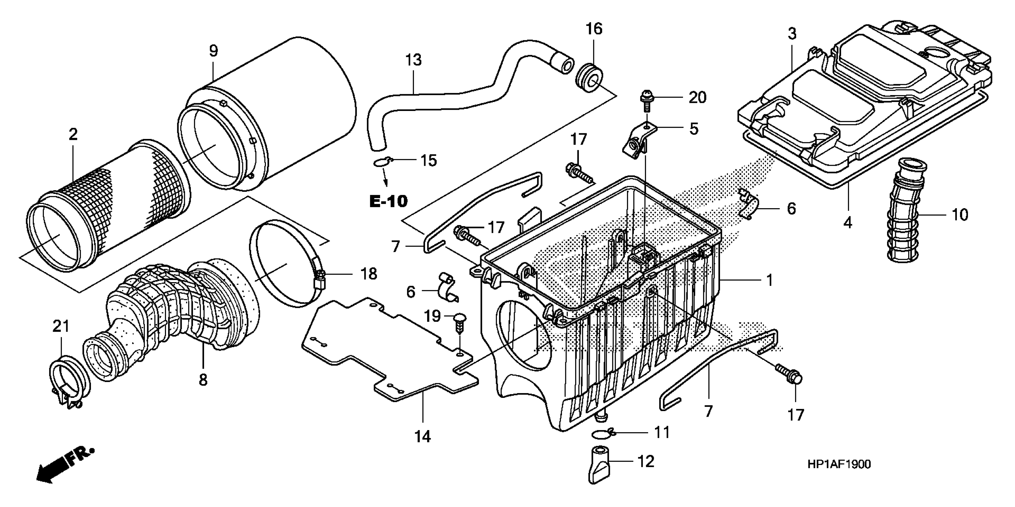
AIR CLEANER
Honda TRX450ER3A (09) ALL-TERRAIN VEHICLE (ATV), JPN, VIN# JH2TE327-9K200001 TO JH2TE327-9K299991 AIR CLEANER Diagram
#
Description
Price
