- Partiron
- OEM Parts
- Honda
- ALL-TERRAIN VEHICLE
- 2007
- TRX450ER3A (07) ALL-TERRAIN VEHICLE (ATV), JPN, VIN# JH2TE327-7K000001 TO JH2TE327-7K099999
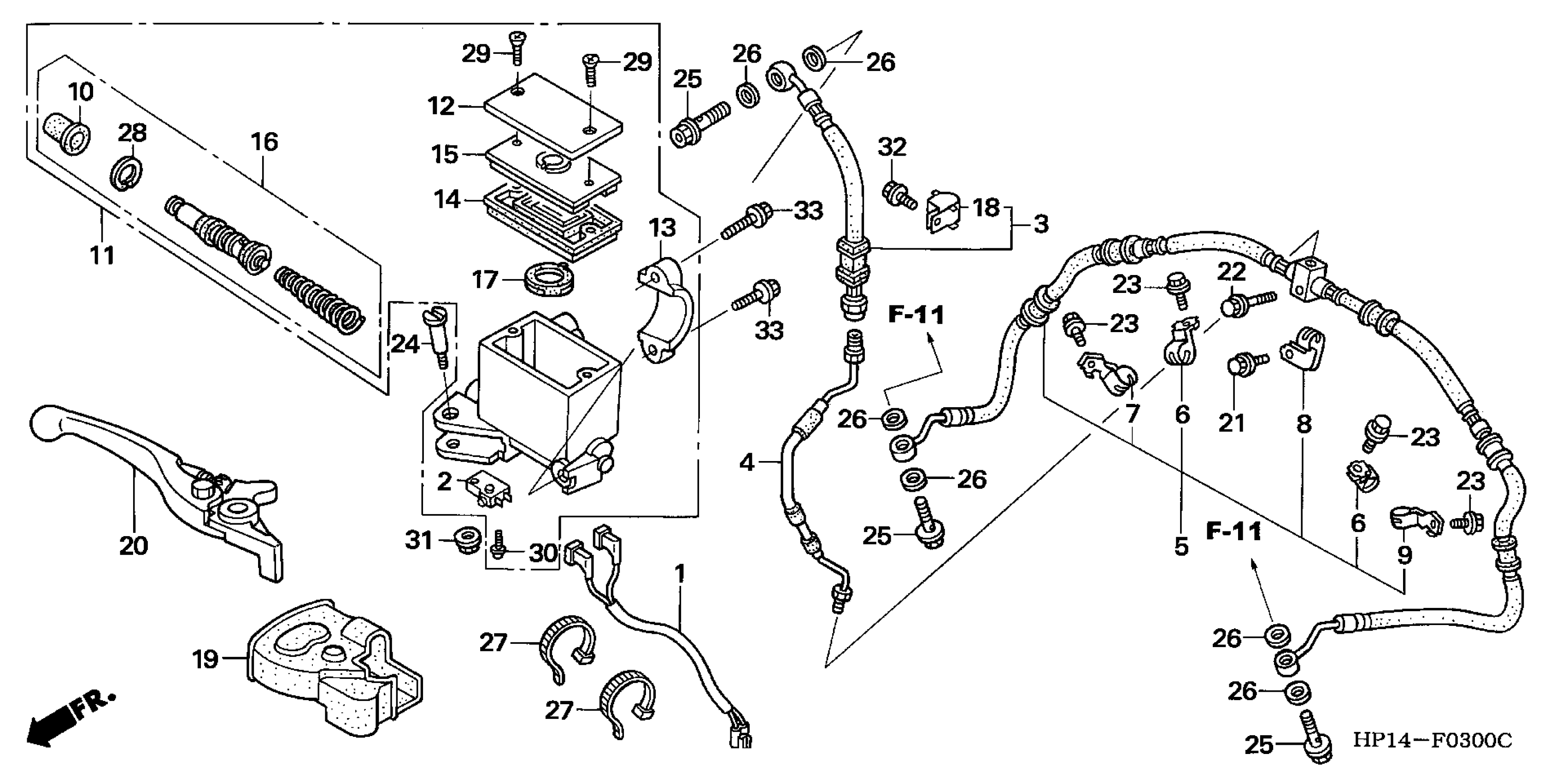
FRONT BRAKE MASTER CYLINDER
Honda TRX450ER3A (07) ALL-TERRAIN VEHICLE (ATV), JPN, VIN# JH2TE327-7K000001 TO JH2TE327-7K099999 FRONT BRAKE MASTER CYLINDER Diagram
#
Description
Price
3
HOSE A, FR. BRAKE
45126-HP1-601
Unavailable
11
MASTER CYLINDER SUB-ASSY., FR. BRAKE (NISSIN) This part replaces 45510-HP1-305.
45510-HP1-601
$210.64
