Partiron

Honda TRX420TM1A (22) ALL-TERRAIN VEHICLE (ATV), USA, VIN# 1HFTE390-N4800001 FRONT ARM Diagram

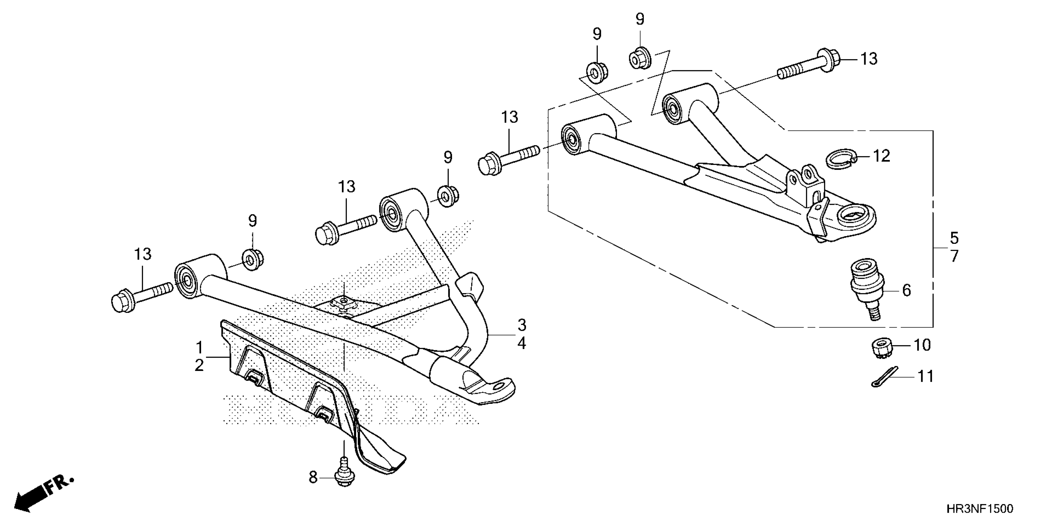
#

Description
Price

3

ARM, R. FR. (LOWER)

51350-HR3-HA0

$83.28

4

ARM, L. FR. (LOWER)

51360-HR3-HA0

$83.79

5

ARM, R. FR. (UPPER)

51370-HR3-HA0

$100.59

6

JOINT A, ARM BALL

51375-HP5-601

$20.53

7

ARM, L. FR. (UPPER)

51380-HR3-HA0

$100.82

9

NUT, SELF-LOCK (10MM)

90305-HC0-770

$2.99

10

NUT, CASTLE (12MM)

90310-HB9-000

$6.05

11

PIN, SPLIT (3.0X18)

94201-30180

$1.49

12

CIRCLIP (OUTER) (34MM)

94514-34000

$1.85

13

BOLT, FLANGE (10X62) This part replaces 95801-10065-00.

90151-HC5-000

$7.99