- Partiron
- OEM Parts
- Honda
- ALL-TERRAIN VEHICLE
- 2025
- TRX420FA6A (25) ALL-TERRAIN VEHICLE (ATV), USA, VIN# 1HFTE472-SJ100001 TO 1HFTE472-SJ199999
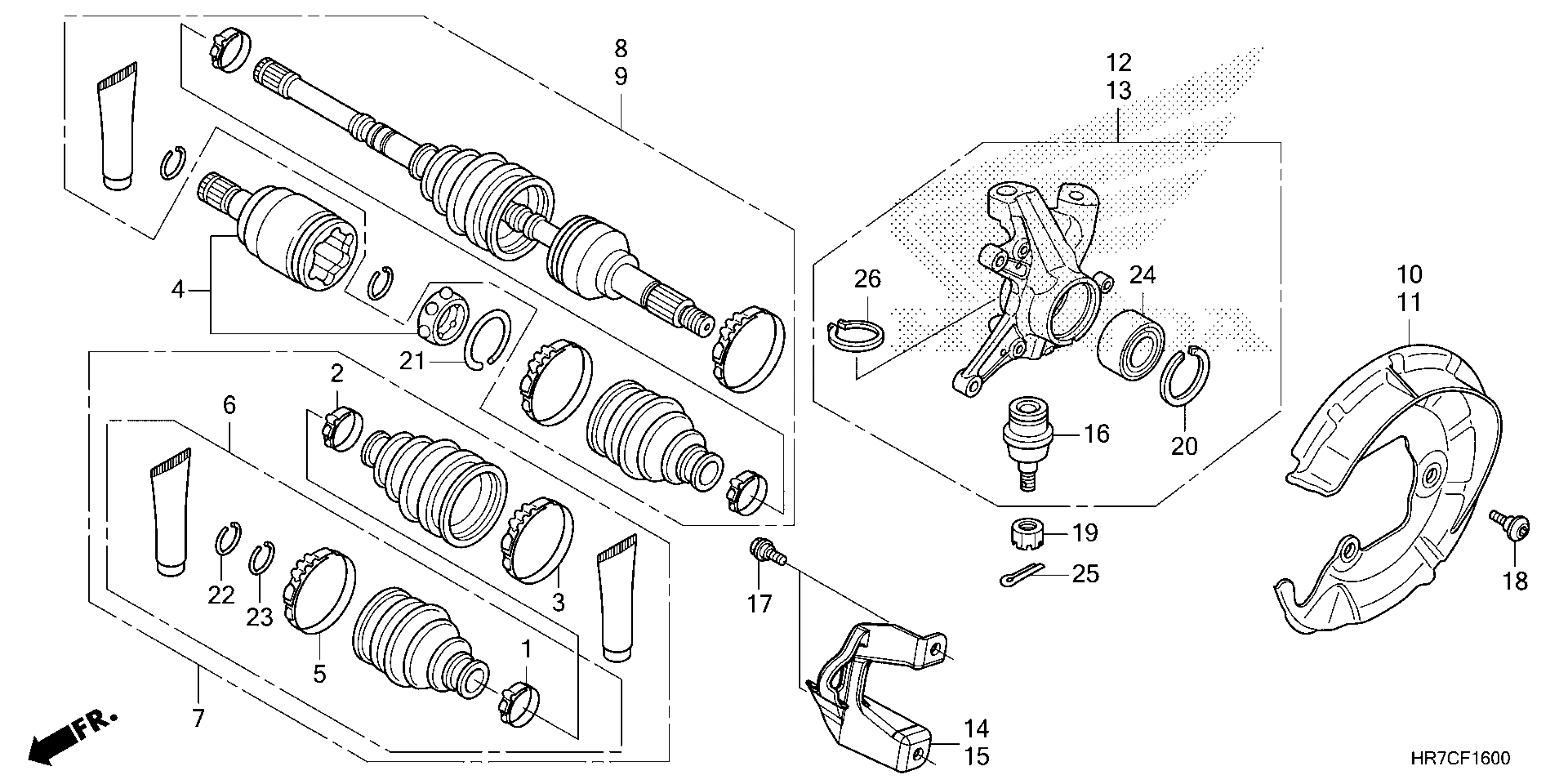
FRONT KNUCKLE@DRIVESHAFT
Honda TRX420FA6A (25) ALL-TERRAIN VEHICLE (ATV), USA, VIN# 1HFTE472-SJ100001 TO 1HFTE472-SJ199999 FRONT KNUCKLE@DRIVESHAFT Diagram
#
Description
Price
