- Partiron
- OEM Parts
- Honda
- ALL-TERRAIN VEHICLE
- 2021
- TRX420FA5A (21) ALL-TERRAIN VEHICLE (ATV), USA, VIN# 1HFTE47A-M4600001 TO 1HFTE47A-M4699999
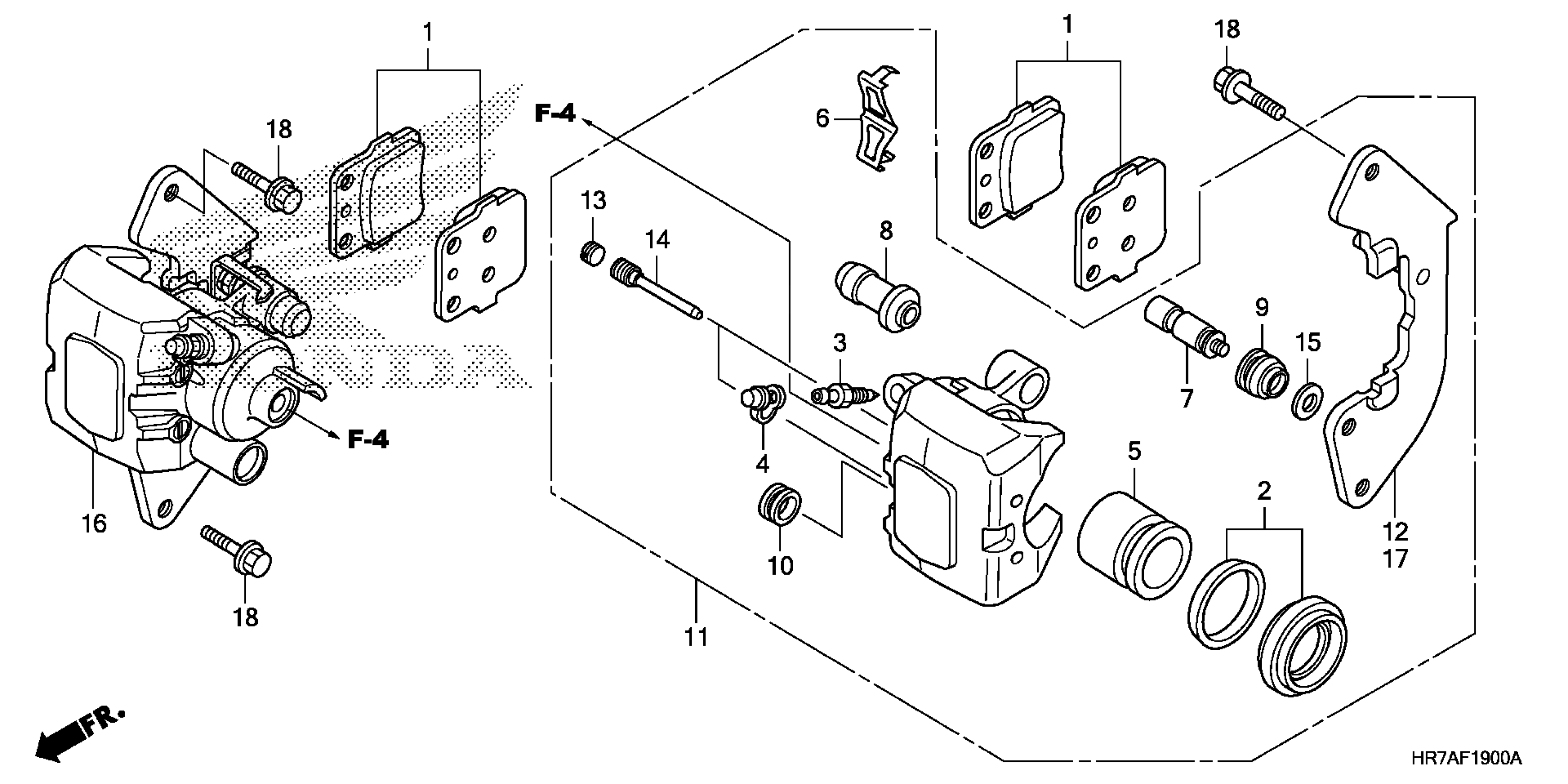
FRONT BRAKE CALIPER
Honda TRX420FA5A (21) ALL-TERRAIN VEHICLE (ATV), USA, VIN# 1HFTE47A-M4600001 TO 1HFTE47A-M4699999 FRONT BRAKE CALIPER Diagram
#
Description
Price
