- Partiron
- OEM Parts
- Honda
- ALL-TERRAIN VEHICLE
- 1996
- TRX400FWA (96) FOURTRAX FOREMAN, USA, VIN# 478TE200-TA100001
KNUCKLE
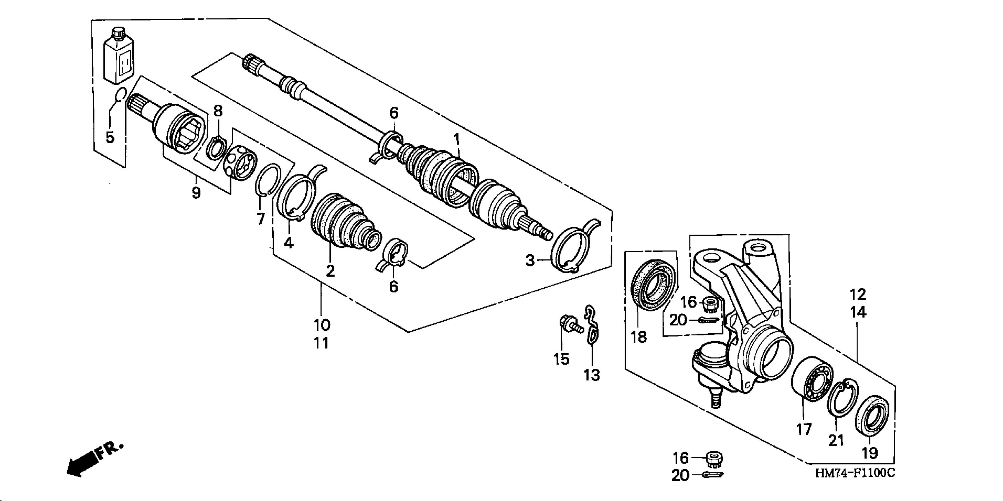
Honda TRX400FWA (96) FOURTRAX FOREMAN, USA, VIN# 478TE200-TA100001 KNUCKLE Diagram
#
Description
Price
10
SHAFT SET, R. DRIVE
42250-HM7-003
Unavailable
11
SHAFT SET, L. DRIVE
42350-HM7-003
Unavailable
12
KNUCKLE ASSY., R. This part replaces 51200-HM7-000.
51200-HM7-A40
Unavailable
12
KNUCKLE ASSY., R. This part replaces 51200-HM7-610.
51200-HM7-A40
Unavailable
12
KNUCKLE ASSY., R. This part replaces 51200-HM7-A10.
51200-HM7-A40
Unavailable
12
KNUCKLE ASSY., R.
51200-HM7-A40
Unavailable
13
CLAMP, FR. BRAKE BREATHER (NOT AVAILABLE)
51203-HM7-000
Unavailable
14
KNUCKLE ASSY., L. This part replaces 51250-HM7-000.
51250-HM7-A40
Unavailable
14
KNUCKLE ASSY., L. This part replaces 51250-HM7-610.
51250-HM7-A40
Unavailable
14
KNUCKLE ASSY., L. This part replaces 51250-HM7-A10.
51250-HM7-A40
Unavailable
14
KNUCKLE ASSY., L.
51250-HM7-A40
Unavailable
