- Partiron
- OEM Parts
- Honda
- ALL-TERRAIN VEHICLE
- 2007
- TRX400FAA (07) FOURTRAX RANCHER AT, USA, VIN# 1HFTE290-74300001
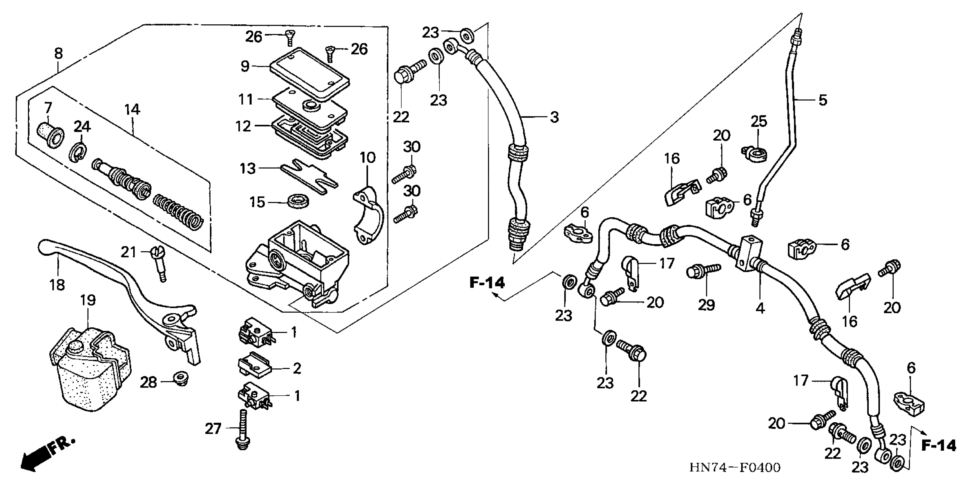
FRONT BRAKE MASTER CYLINDER
Honda TRX400FAA (07) FOURTRAX RANCHER AT, USA, VIN# 1HFTE290-74300001 FRONT BRAKE MASTER CYLINDER Diagram
#
Description
Price
17
CLAMP B, FR. BRAKE HOSE
51208-HN5-670
Unavailable
