- Partiron
- OEM Parts
- Honda
- ALL-TERRAIN VEHICLE
- 2001
- TRX350FEA (01) FOURTRAX RANCHER 4X4 ES, USA, VIN# 478TE254-1A100001
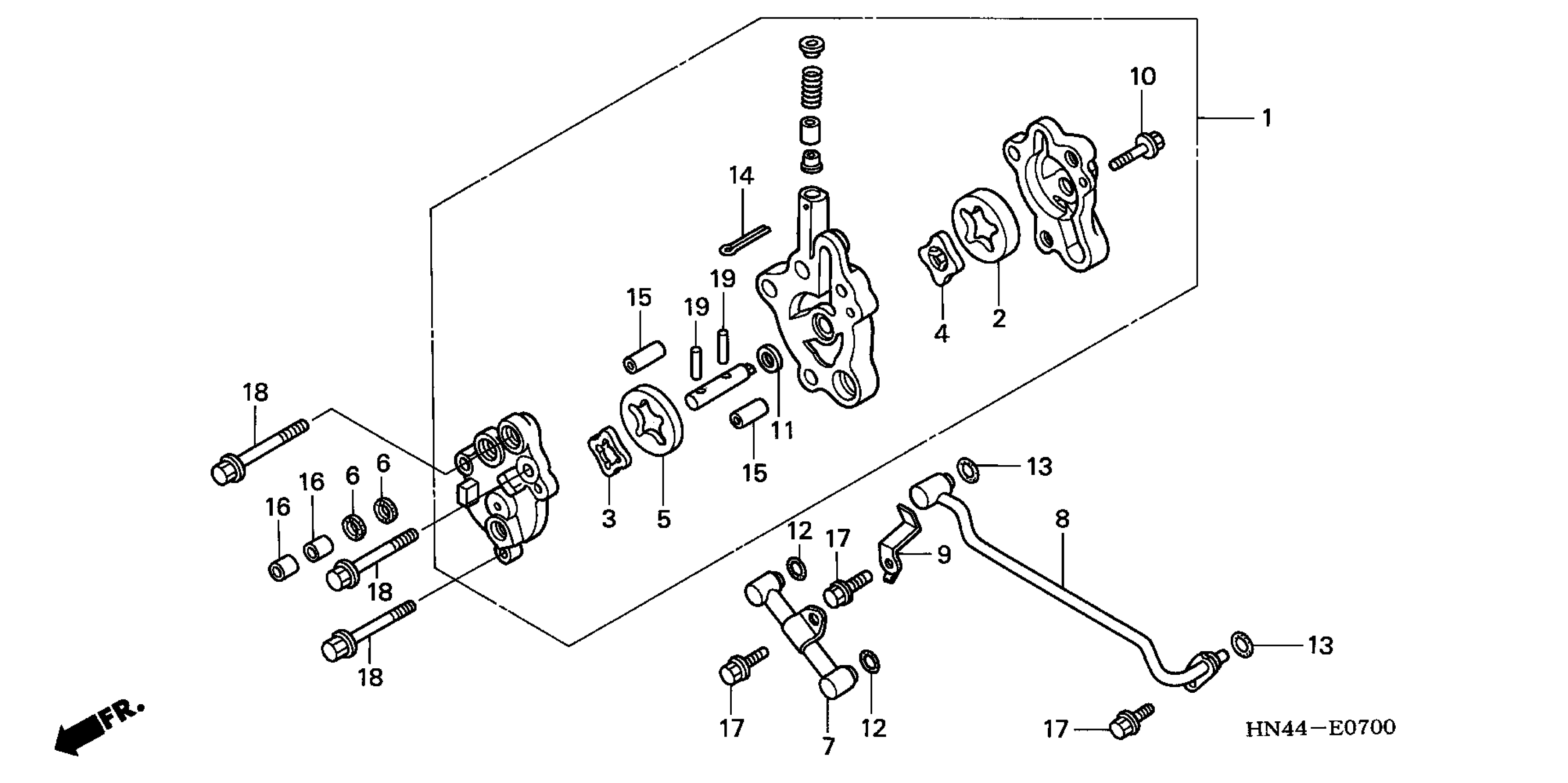
OIL PUMP
Honda TRX350FEA (01) FOURTRAX RANCHER 4X4 ES, USA, VIN# 478TE254-1A100001 OIL PUMP Diagram
#
Description
Price
1
PUMP ASSY., OIL
15100-HN5-670
Unavailable
2
ROTOR (OUTER) | Use up to Engine SN 8054796 This part replaces 15116-HN5-670.
15122-MG3-000
$31.31
3
ROTOR B, OIL PUMP (INNER)
15121-KCZ-000
Unavailable
5
ROTOR B, OIL PUMP (OUTER) | Use up to Engine SN 8054796 This part replaces 15122-HN5-670.
15122-KCZ-000
Unavailable
5
ROTOR B, OIL PUMP (OUTER) | Use from Engine SN 8054797
15122-KCZ-000
Unavailable
7
PIPE A, OIL
15310-HN5-670
Unavailable
8
PIPE B, OIL
15320-HN5-670
Unavailable
9
PLATE B, OIL PIPE FIXING
15325-HN5-670
Unavailable
