Partiron

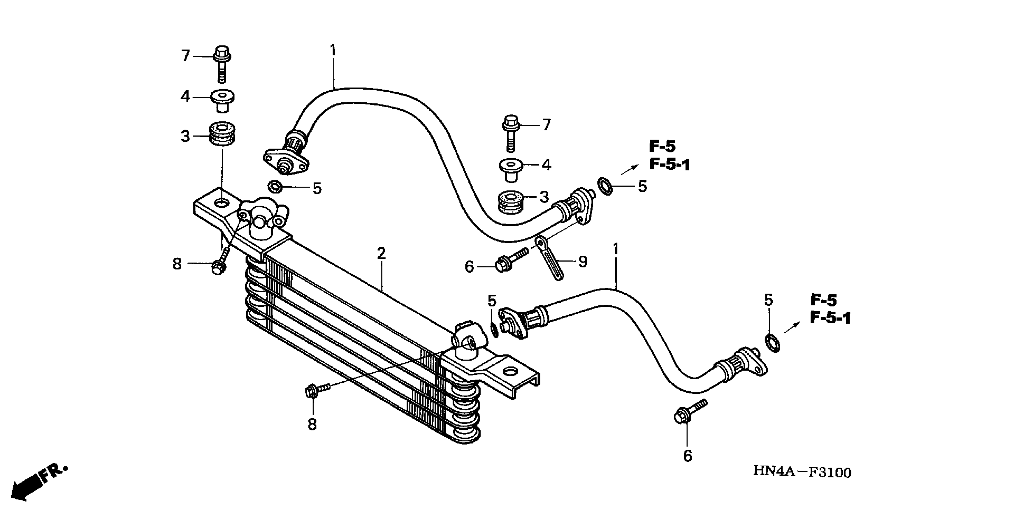
Honda TRX350FE2A (03) FOURTRAX RANCHER 4X4 ES, USA, VIN# 478TE254-34200001 OIL COOLER Diagram

#

Description
Price

1

HOSE, OIL

15520-HN5-670

$62.66

2

COOLER, OIL

15600-HM7-610

$284.72

3

RUBBER, RADIATOR MOUNTING

19051-KA3-830

$3.31

4

COLLAR, RADIATOR MOUNTING

19052-MGH-640

$2.48

4

COLLAR, RADIATOR MOUNTING This part replaces 19052-MN8-000.

19052-MGH-640

$2.48

5

O-RING (11X2.4)

91314-HN6-000

$1.87

6

BOLT, FLANGE (6X18)

95701-06018-00

$1.62

7

BOLT, FLANGE (6X22)

95701-06022-00

$1.80

8

BOLT, FLANGE (6X20)

96001-06020-00

$1.49

9

CLIP (2X60)

91410-679-000

$10.06