- Partiron
- OEM Parts
- Honda
- ALL-TERRAIN VEHICLE
- 1989
- TRX350DA (89) ALL-TERRAIN VEHICLE (ATV), JPN, VIN# JH3TE071-KK200001
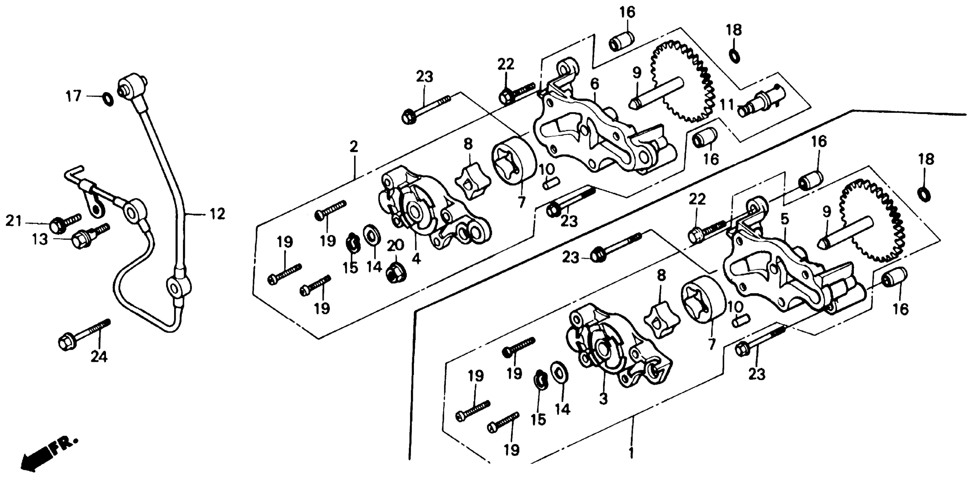
OIL PUMP
Honda TRX350DA (89) ALL-TERRAIN VEHICLE (ATV), JPN, VIN# JH3TE071-KK200001 OIL PUMP Diagram
#
Description
Price
2
PUMP ASSY., OIL (NOT AVAILABLE)
15100-HA7-770
Unavailable
4
BODY, OIL PUMP
15111-HA7-770
Unavailable
6
COVER, OIL PUMP
15121-HA7-770
Unavailable
9
GEAR, OIL PUMP DRIVEN (30T)
15140-HA0-010
Unavailable
10
PIN, DOWEL (6X8)
94302-06080
Unavailable
11
VALVE ASSY., RELIEF
15220-HA7-770
Unavailable
12
PIPE, OIL
15510-HA7-670
Unavailable
14
WASHER (8MM)
90465-HA0-000
Unavailable
