- Partiron
- OEM Parts
- Honda
- ALL-TERRAIN VEHICLE
- 1994
- TRX300FWA (94) FOURTRAX 300 4X4, USA, VIN# 478TE150-RA600001 TO 478TE150-RA699999
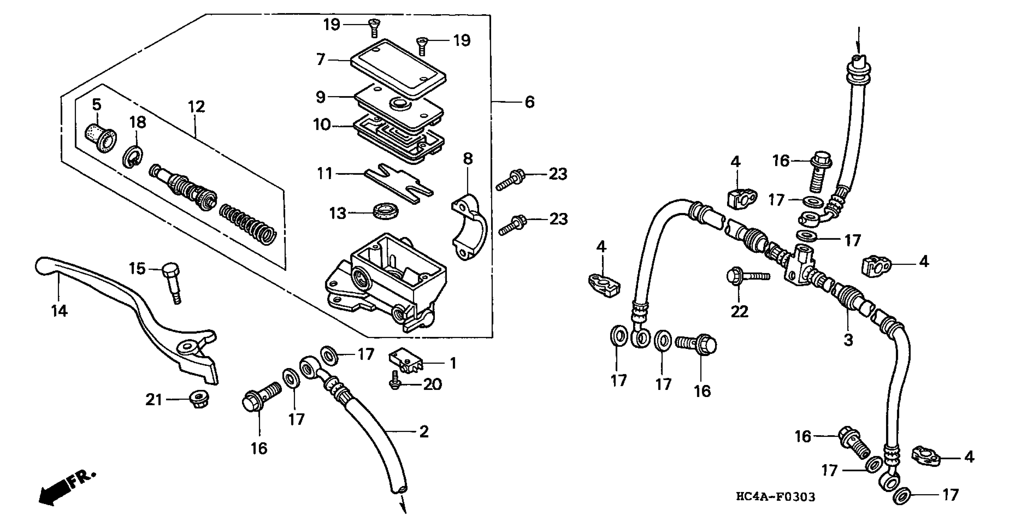
TRX300FWFRONT BRAKE MASTER CYLINDER 93-95
Honda TRX300FWA (94) FOURTRAX 300 4X4, USA, VIN# 478TE150-RA600001 TO 478TE150-RA699999 TRX300FWFRONT BRAKE MASTER CYLINDER 93-95 Diagram
#
Description
Price
4
CLIP, BRAKE HOSE (NOT AVAILABLE)
45401-HC4-771
Unavailable
