Partiron

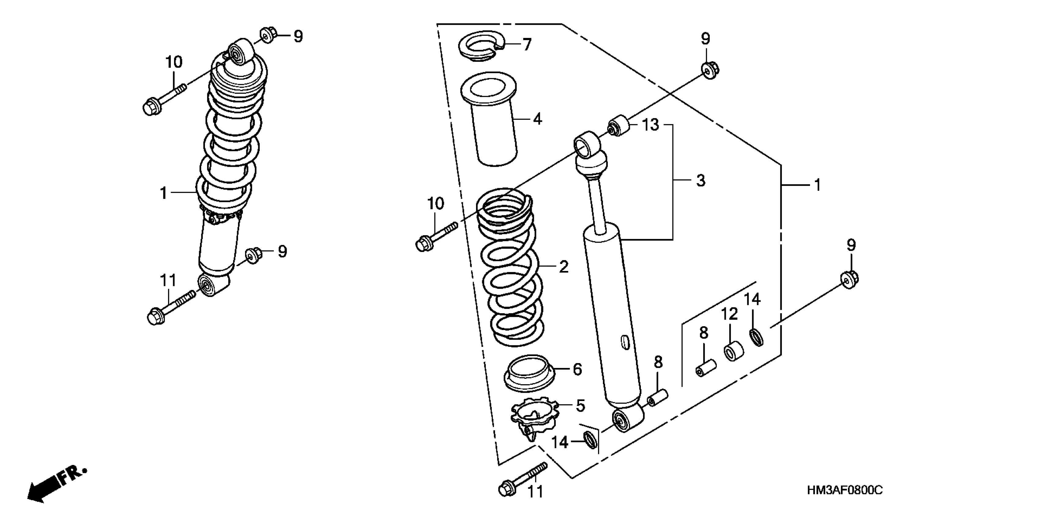
Honda TRX300EXA (06) SPORTRAX 300EX, JPN, VIN# JH2TE190-6K100001 TO JH2TE190-6K199999 FRONT SHOCK ABSORBER Diagram

#

Description
Price

1

CUSHION ASSY., FR.

51400-HM3-A01

$314.02

2

SPRING, FR. FORK

51401-HM3-004

$140.73

3

DAMPER, FR.

51410-HM3-A01

Unavailable

4

COVER, FR. DUST

51415-HC0-004

$25.15

5

SEAT, SPRING

51422-HC0-004

$34.59

6

GUIDE, SPRING (A)

51423-HC0-004

$11.90

7

GUIDE, SPRING (B)

51424-HC0-004

$16.38

8

COLLAR, FR. FORK (LOWER)

51486-HC0-004

Unavailable

9

NUT, SELF-LOCK (10MM)

90305-HC0-770

$2.99

10

BOLT, FLANGE (10X40)

95801-10040-00

$2.19

11

BOLT, FLANGE (10X50)

95801-10050-00

$6.23