- Partiron
- OEM Parts
- Honda
- ALL-TERRAIN VEHICLE
- 1997
- TRX300A (97) FOURTRAX 300, USA, VIN# 478TE140-VA900001
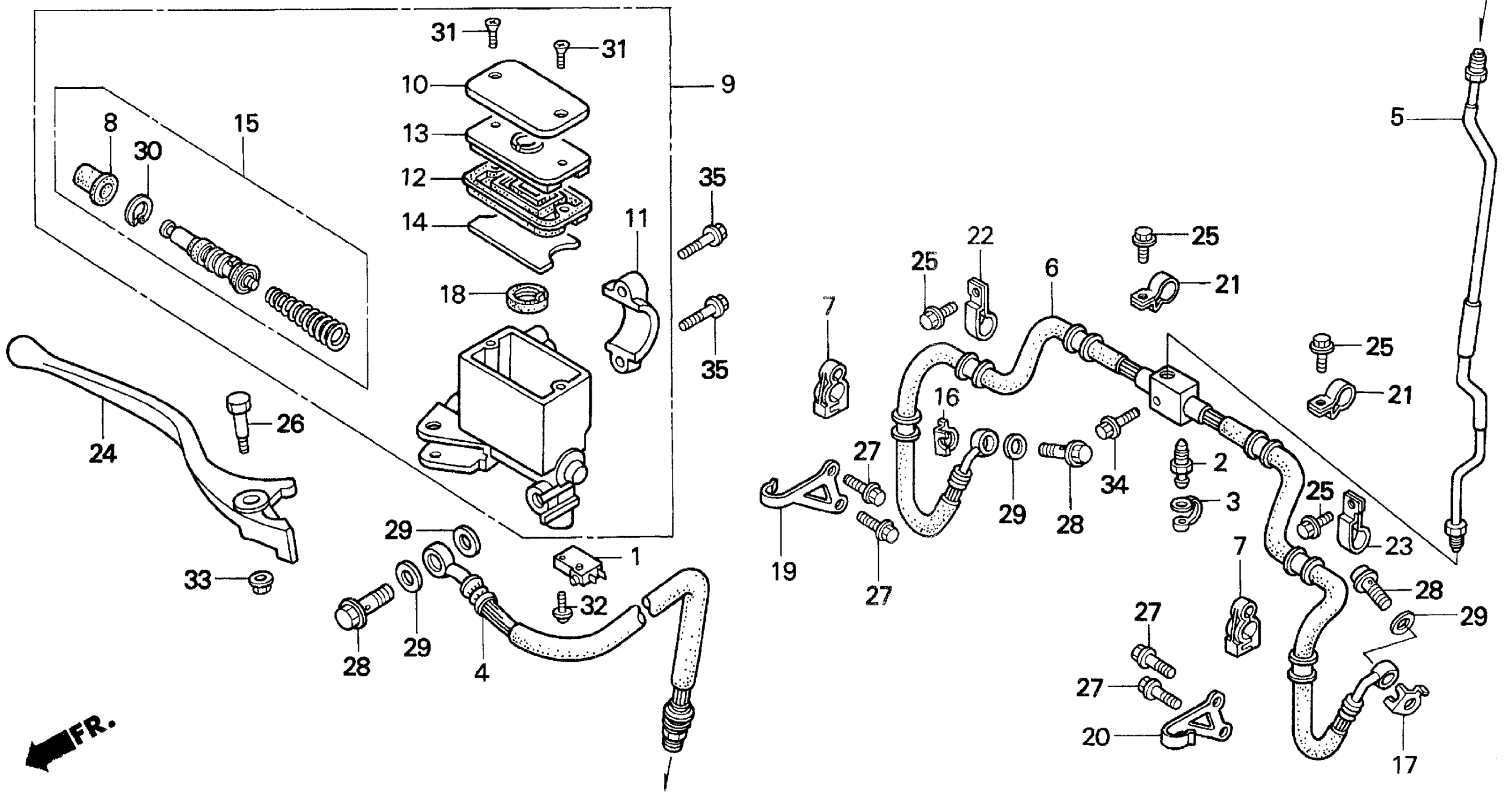
300 FRONT BRAKE MASTER CYLINDER
Honda TRX300A (97) FOURTRAX 300, USA, VIN# 478TE140-VA900001 300 FRONT BRAKE MASTER CYLINDER Diagram
#
Description
Price
4
HOSE ASSY., FR. BRAKE (UPPER)
45126-HC4-841
Unavailable
4
HOSE ASSY., FR. BRAKE (UPPER) This part replaces 45126-HM4-830.
45126-HC4-841
Unavailable
5
PIPE A, FR. BRAKE (NOT AVAILABLE)
45127-HC4-840
Unavailable
6
HOSE B, FR. BRAKE
45128-HM4-851
Unavailable
6
HOSE B, FR. BRAKE This part replaces 45128-HM4-830.
45128-HM4-851
Unavailable
14
FLOAT, FR. MASTER CYLINDER (NISSIN)
45523-HC4-841
Unavailable
14
FLOAT, FR. MASTER CYLINDER (NISSIN) This part replaces 45523-HM4-830.
45523-HC4-841
Unavailable
19
CLAMP, R. BRAKE HOSE (NOT AVAILABLE)
51201-HM4-850
Unavailable
20
CLAMP, L. BRAKE HOSE (NOT AVAILABLE)
51202-HM4-850
Unavailable
21
CLAMP A, FR. BRAKE HOSE (NOT AVAILABLE)
51207-HM4-850
Unavailable
22
CLAMP C, R. FR. BRAKE HOSE (SOURCE: VINTAGE PARTS INC.)
51208-HM4-850
Unavailable
23
CLAMP C, L. FR. BRAKE HOSE
51209-HM4-850
Unavailable
