- Partiron
- OEM Parts
- Honda
- ALL-TERRAIN VEHICLE
- 1990
- TRX300A (90) FOURTRAX 300, USA, VIN# 478TE140-LA200010 TO 478TE140-LA216389
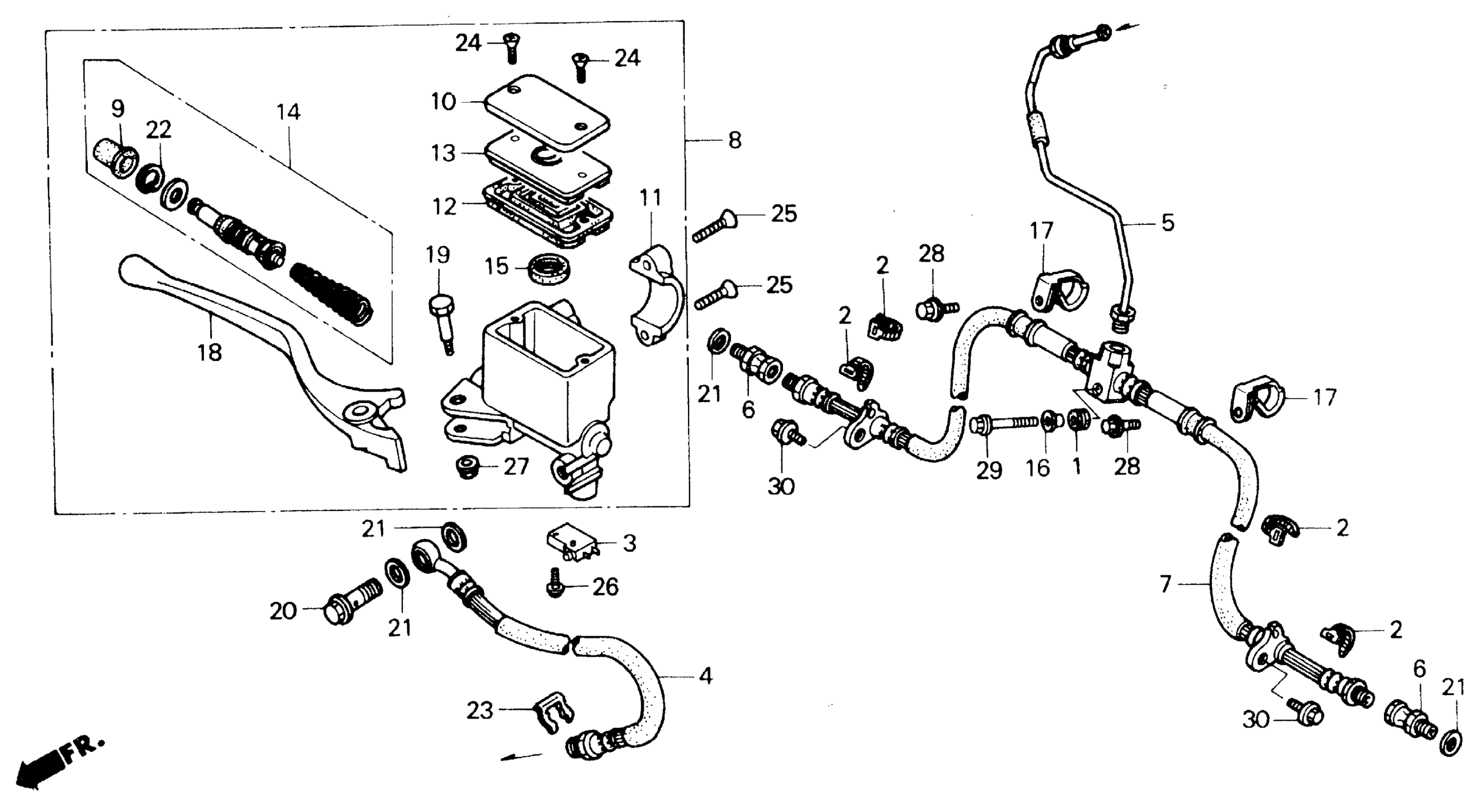
FRONT BRAKE MASTER CYLINDER
Honda TRX300A (90) FOURTRAX 300, USA, VIN# 478TE140-LA200010 TO 478TE140-LA216389 FRONT BRAKE MASTER CYLINDER Diagram
#
Description
Price
2
CLIP, BRAKE HOSE (NOT AVAILABLE)
45401-HC4-771
Unavailable
4
HOSE, FR. BRAKE (UPPER) (NOT AVAILABLE) This part replaces 45126-HC4-003.
45126-HC4-751
Unavailable
5
PIPE A, FR. BRAKE (NOT AVAILABLE)
45127-HC4-010
Unavailable
6
JOINT, BRAKE HOSE This part replaces 45127-KA3-831.
45127-KZ4-003
Unavailable
6
JOINT, BRAKE HOSE
45127-KZ4-003
Unavailable
7
HOSE, FR. BRAKE (LOWER) (NOT AVAILABLE) This part replaces 45128-HC4-003.
45128-HC4-751
Unavailable
8
MASTER CYLINDER ASSY., FR. (NISSIN) (NA USE ALT:45510-HC4-405)
45500-HC4-016
Unavailable
11
HOLDER, MASTER CYLINDER (NOT AVAILABLE)
45517-961-000
Unavailable
16
COLLAR, ELECTRIC PLATE
50302-KG1-000
Unavailable
17
CLAMP, FR. BRAKE HOSE (NOT AVAILABLE)
51201-HC4-000
Unavailable
25
SCREW, OVAL (6X25) (NOT AVAILABLE)
93700-06025-0G
Unavailable
