- Partiron
- OEM Parts
- Honda
- ALL-TERRAIN VEHICLE
- 1988
- TRX250XA (88) FOURTRAX 250X, JPN, VIN# JH3TE130-JK100002 TO JH3TE130-JK104166
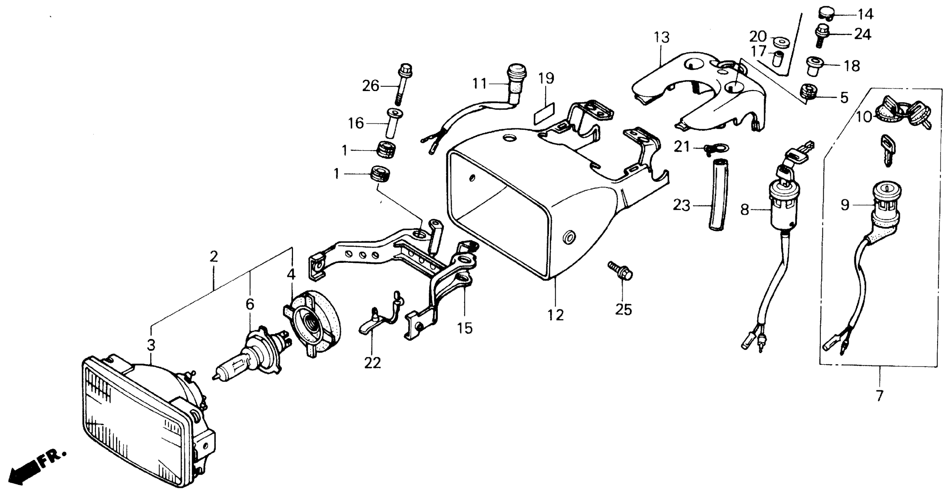
HEADLIGHT 87-88
Honda TRX250XA (88) FOURTRAX 250X, JPN, VIN# JH3TE130-JK100002 TO JH3TE130-JK104166 HEADLIGHT 87-88 Diagram
#
Description
Price
2
HEADLIGHT ASSY. (NOT AVAILABLE)
33100-HC0-003
Unavailable
3
HEADLIGHT UNIT
33120-HC0-003
Unavailable
4
COVER, RUBBER
33180-HA2-671
Unavailable
8
LOCK SET (NOT AVAILABLE)
35010-HC0-770
Unavailable
11
LAMP ASSY. (NOT AVAILABLE)
37600-HC0-000
Unavailable
12
CASE, HEADLIGHT *R109* (PASSION RED) (NOT AVAILABLE)
61301-HC0-770ZA
Unavailable
13
COVER, HEADLIGHT (UPPER) *R109* (PASSION RED) (NOT AVAILABLE)
61302-HC0-003ZA
Unavailable
14
CAP, HEADLIGHT CASE (NOT AVAILABLE)
61303-HC0-000
Unavailable
15
BRACKET, HEADLIGHT CASE
61310-HC0-000
Unavailable
16
COLLAR, HEADLIGHT MOUNTING
61311-HC0-000
Unavailable
19
LABEL, HELMET HOLDER This part replaces 87511-HA2-670.
87511-KR3-670
Unavailable
23
BULK HOSE, VINYL (12X16X3000) (12X16X100)
95003-40003-60M
Unavailable
