- Partiron
- OEM Parts
- Honda
- ALL-TERRAIN VEHICLE
- 2005
- TRX250TEA (05) FOURTRAX RECON ES, USA, VIN# 1HFTE214-54500001
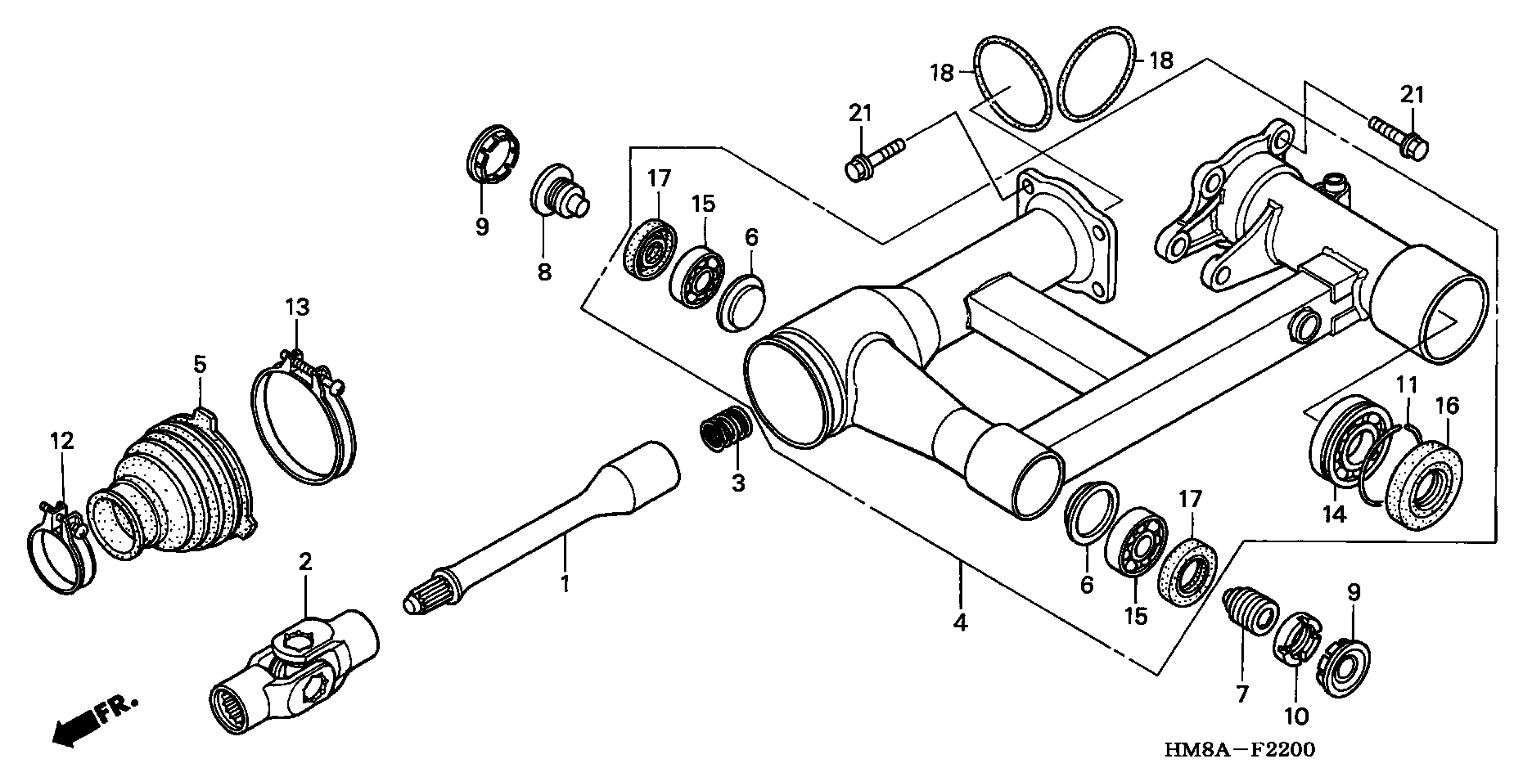
SWINGARM
Honda TRX250TEA (05) FOURTRAX RECON ES, USA, VIN# 1HFTE214-54500001 SWINGARM Diagram
#
Description
Price
SWINGARM
#
Edit ride
