Partiron

Honda TRX250A (98) TRX250 RECON, USA, VIN# 478TE210-WA100001 BODY COVER Diagram

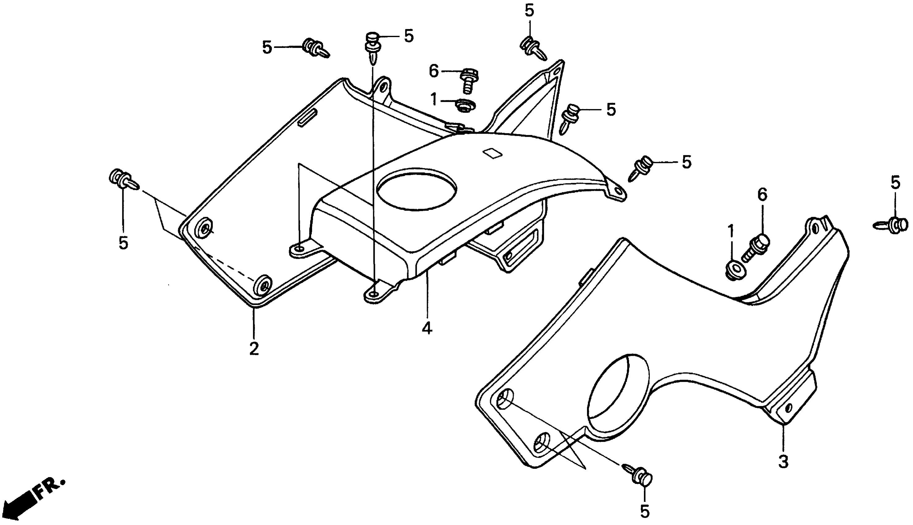
#

Description
Price

1

COLLAR, FR. ORNAMENT

61104-MC8-000

$4.63

2

COVER, R. SIDE *NH1* (WOL) (BLACK)

83500-HM8-000ZC

$77.14

3

COVER, L. SIDE *NH1* (BLACK)

83600-HM8-000ZC

$78.95

4

COVER, FUEL TANK TOP *NH1* (BLACK) This part replaces 83700-HM8-000ZA.

83700-HM8-010ZA

$232.30

4

COVER, FUEL TANK TOP *NH1* (BLACK)

83700-HM8-010ZA

$232.30

5

CLIP, SPLASH GUARD

90653-HC4-900

$1.49

6

BOLT, FLANGE (6X14)

95701-06014-07

$1.49