- Partiron
- OEM Parts
- Honda
- ALL-TERRAIN VEHICLE
- 2001
- TRX250A (01) TRX250 RECON, USA, VIN# 478TE210-14100001
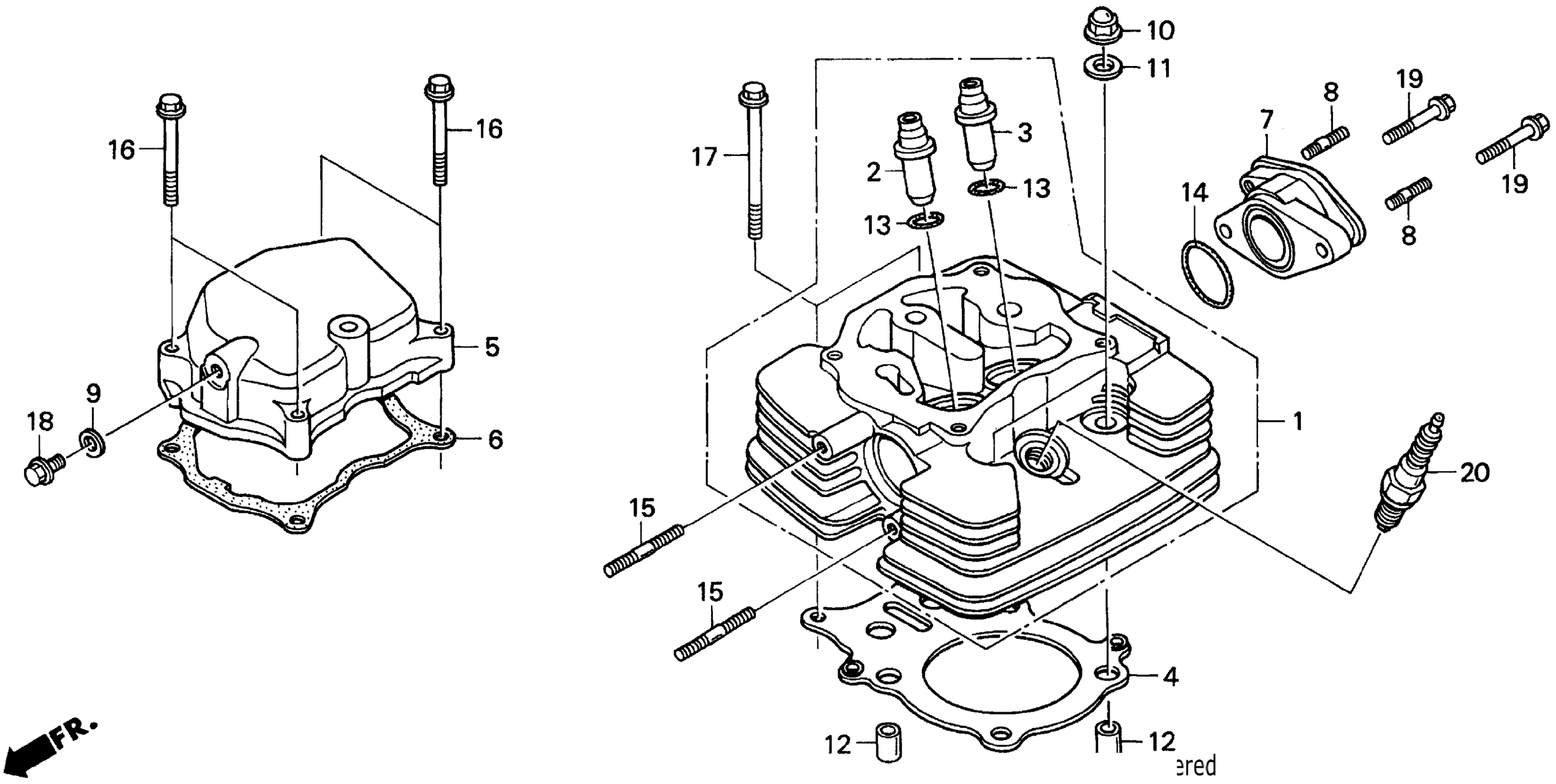
CYLINDER HEAD
Honda TRX250A (01) TRX250 RECON, USA, VIN# 478TE210-14100001 CYLINDER HEAD Diagram
#
Description
Price
1
CYLINDER HEAD
12200-HM8-000
Unavailable
3
GUIDE, VALVE (OVER SIZE)
12204-HM8-305
Unavailable
4
GASKET, CYLINDER HEAD (OVER SIZE) | (Optional).
12252-HM8-305
Unavailable
5
COVER, CYLINDER HEAD
12311-HM8-000
Unavailable
