- Partiron
- OEM Parts
- Honda
- ALL-TERRAIN VEHICLE
- 1984
- TRX200A (84) ALL-TERRAIN VEHICLE (ATV), JPN, VIN# JH3TE030-EC000007
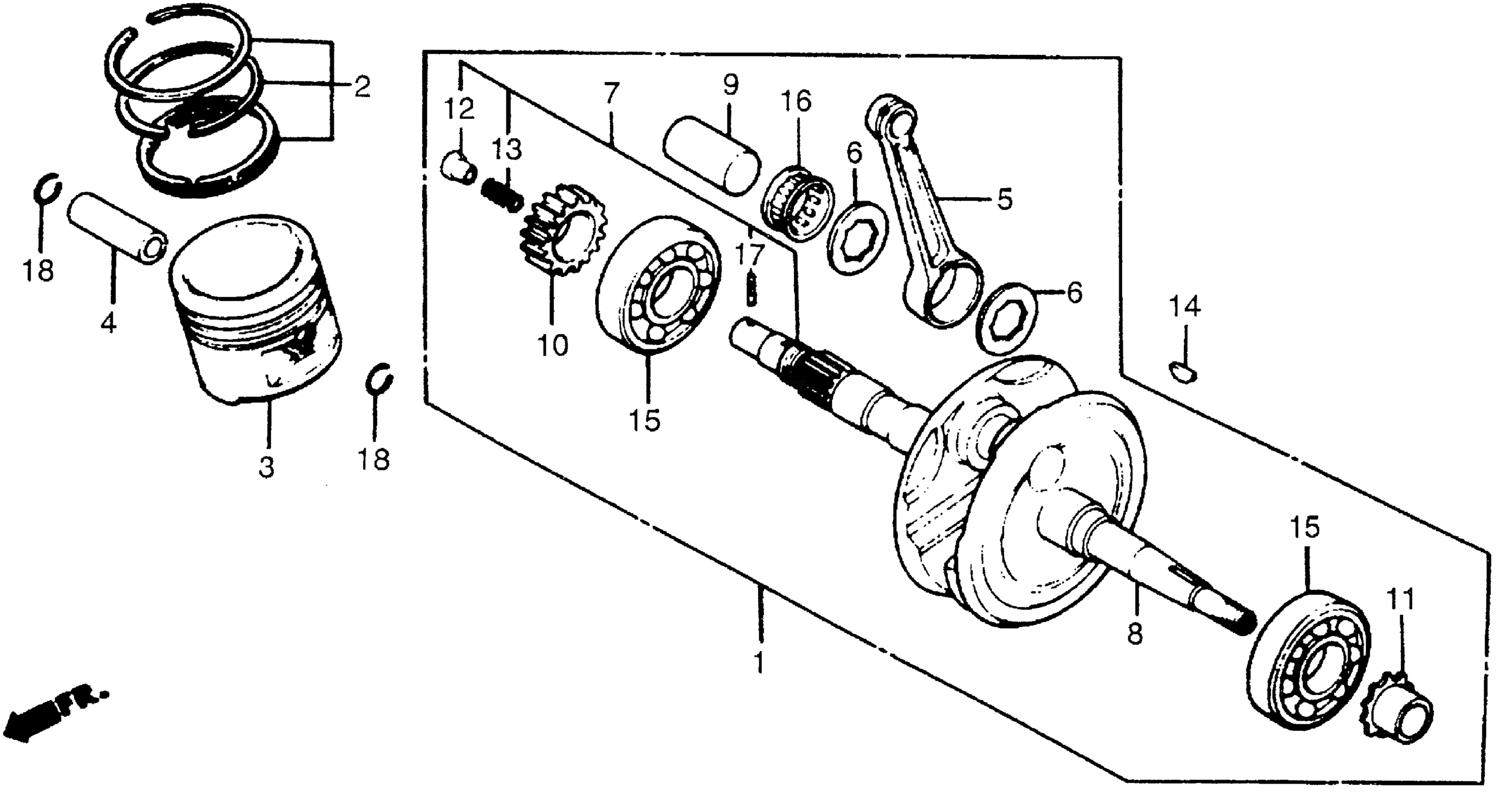
CRANKSHAFT + PISTON
Honda TRX200A (84) ALL-TERRAIN VEHICLE (ATV), JPN, VIN# JH3TE030-EC000007 CRANKSHAFT + PISTON Diagram
#
Description
Price
1
CRANKSHAFT
13000-958-681
Unavailable
2
RING SET, PISTON (STD)
13011-958-671
Unavailable
2
RING SET, PISTON (STD) This part replaces 13011-958-672.
13011-958-671
Unavailable
2
RING SET, PISTON (OS 0.25)
13012-958-671
Unavailable
2
RING SET, PISTON (OS 0.25) This part replaces 13012-958-672.
13012-958-671
Unavailable
2
RING SET, PISTON (OS 0.50)
13013-958-671
Unavailable
2
RING SET, PISTON (OS 0.50) This part replaces 13013-958-672.
13013-958-671
Unavailable
3
PISTON (STD)
13101-958-671
Unavailable
3
PISTON (OS 0.25)
13102-958-670
Unavailable
3
PISTON (OS 0.50)
13103-958-670
Unavailable
5
ROD, CONNECTING
13202-427-300
Unavailable
7
CRANKSHAFT, R.
13312-958-335
Unavailable
8
CRANKSHAFT, L.
13321-958-680
Unavailable
9
PIN, CRANK
13381-HF1-670
Unavailable
9
PIN, CRANK This part replaces 13381-383-300.
13381-HF1-670
Unavailable
10
GEAR, OIL PUMP DRIVE
13411-958-300
Unavailable
12
THROUGH, OIL
15441-958-000
Unavailable
13
SPRING, OIL THROUGH
15446-958-000
Unavailable
16
BEARING A, CONNECTING ROD (RED) (TOYO) This part replaces 91002-437-004.
91002-440-003
Unavailable
16
BEARING A, CONNECTING ROD (RED) (TOYO)
91002-440-003
Unavailable
16
BEARING B, CONNECTING ROD (BLUE) (TOYO) This part replaces 91003-437-004.
91003-440-003
Unavailable
16
BEARING B, CONNECTING ROD (BLUE) (TOYO)
91003-440-003
Unavailable
16
BEARING C, CONNECTING ROD (WHITE) (TOYO) This part replaces 91004-437-004.
91004-440-003
Unavailable
16
BEARING C, CONNECTING ROD (WHITE) (TOYO)
91004-440-003
Unavailable
17
PIN, SPRING (2X16) (NOT AVAILABLE)
94305-20162
Unavailable
